Запчасти Case IH SPX4260 (058) - CYLINDER BLOCK (10) - ENGINE

Схема запчастей Case IH SPX4260 - (058) - CYLINDER BLOCK (10) - ENGINE
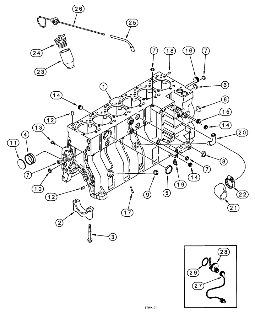
12
4
15
7
6
14
2
9
16
21
7
7
28
23
13
7
3
22
29
20
8
14
17
1
19
8
18
24
26
27
14
10
25
11
5
12
FIT
1:1
100%

Артикул

Название

Примечание

Количество

1a

228154A1

ENGINE ASSEMBLY

ENGINE ASSY 6TA-830 emissions certified, complete, for service order basic engine below

1шт.

NOTE: The engine part number is stamped on a metal tag which is mounted on the front gear cover.

1шт.

1b

243308A1

BASIC ENGINE

Assembly

1шт.

Includes all parts except starter, alternator, fan, fan belt, air cleaner, muffler, exhaust manifold, flywheel, and housing, oil fill and dipstick, fuel injection pump, injectors and lines, front pulley, belt tensioner, turbocharger and aftercoo

1шт.

North America Only, component parts shown on this figure do not apply to the remanufactured assembly; See Note

1шт.

1b

47466028R

REMAN-BASIC ENGINE

Includes all parts except starter, alternator, fan, fan belt, air cleaner, muffler, exhaust manifold, flywheel, and housing, oil fill and dipstick, fuel injection pump, injectors and lines, front pulley, belt tensioner, turbocharger and aftercoo

1шт.

1b

47466028C

CORE-BASIC ENGINE

Return Part Number

1шт.

1e

JR931187

BLOCK

ASSEMBLY - short, remanufactured, North America Only, component parts shown on this figure do not apply to the remanufactured assembly.

1шт.

1f

JC931187

CORE-ENGINE

Return Part Number Use this part number to return block core for credit when using a remanufactured assembly.

1шт.

1

J931187

SKELETON ENGINE

BLOCK ASSEMBLY - short, new, includes stripped block, piston, connecting rods and bearings, crankshaft and bearings

1шт.

2

J917313

BEARING CAP

bearing main

7шт.

3

J916369

FLANGE BOLT,Hex, M14 x 2 x 128mm, Cl 10.9

14шт.

4

J901685

BUSHING

camshaft see page 2-49, item 6

7шт.

5

A77782

PLUG

Expansion, 58 mm od

1шт.

6

A77586

PLUG

Expansion, 28.9 mm od

1шт.

7

A77506

PLUG

Expansion, 21 mm od

4шт.

8

J905401

PLUG

expansion, 35 mm OD

4шт.

9

J920706

PLUG

expansion, 22 mm OD

1шт.

10

J920443

PLUG

Expansion, 30 mm od

2шт.

11

41-3044

PLUG,Exp, 2 3/4"

1шт.

12

J901846

PIN,12.01mm OD x 24mm L

dowel

4шт.

13

J906619

PLUG,1/8" - 27

pipe, 1/8-27 hex socket

6шт.

14

444704

PLUG,Hex Soc, 1/2"-14

4шт.

15

263136

MAGNETIC PLUG,Sq. Soc, 3/4"-14 NPTF

PLUG, MAGNETIC

2шт.

16

86625135

PLUG,1" - 11-1/2 NPT

1шт.

17

J928031

NOZZLE,8.5mm OD x 30mm L

piston cooling

12шт.

18

J900257

PIN,10.01mm OD x 16mm L

10 mm x 16 mm long

2шт.

19

217-103

COCK, DRAIN

valve, 1/4" PT

1шт.

20

J903744

PIPE FITTING,22.42 mm ID x 28 mm OD x 90.2, 64 mm L

TUBE - turbocharger oil drain

1шт.

21

J920762

ELBOW

HOSE - water

1шт.

22

J918521

HOSE CLAMP,59mm - 83mm

adjustable, 1-13/16 - 2-3/4 inch diameter, coolant

1шт.

23

J905408

TUBE,35.13 mm ID x 52.39 mm OD x 100 mm L

oil filler

1шт.

24

A77424

FILLER CAP

Filler Cap

1шт.

25

J928896

TUBE,9.52 mm OD x 239.2, 123.7 mm L

oil dipstick

1шт.

26

J928895

DIPSTICK

oil

1шт.

26a

NS

NOT SERVICED

ENGINE BLOCK HEATER

1шт.

26b

196804A1

KIT

engine block heater

1шт.

27

87105748

ELECTRIC CABLE,120V, 15A

1829 mm (72") (Engine Block Heater, 120 Volt)

1шт.

28

NSS

NOT SOLD SEPARAT

ELEMENT - 120 volt

1шт.

Engine block heater

1шт.

29

J910517

O-RING

sealing

1шт.

Engine block heater

1шт.

30

87557087

CABLE TIE

CABLE STRAP 11" with stainless locking clip

1шт.

Not Shown

1шт.

Engine block heater

1шт.

Выбрано товаров: 45