Запчасти Case IH SPX4260 (186) - BOOM BREAKAWAY MANIFOLD ASSEMBLY (35) - HYDRAULIC SYSTEMS

Схема запчастей Case IH SPX4260 - (186) - BOOM BREAKAWAY MANIFOLD ASSEMBLY (35) - HYDRAULIC SYSTEMS
4
1
6
4
2
4
5
3
4
FIT
1:1
100%

Артикул

Название

Примечание

Количество

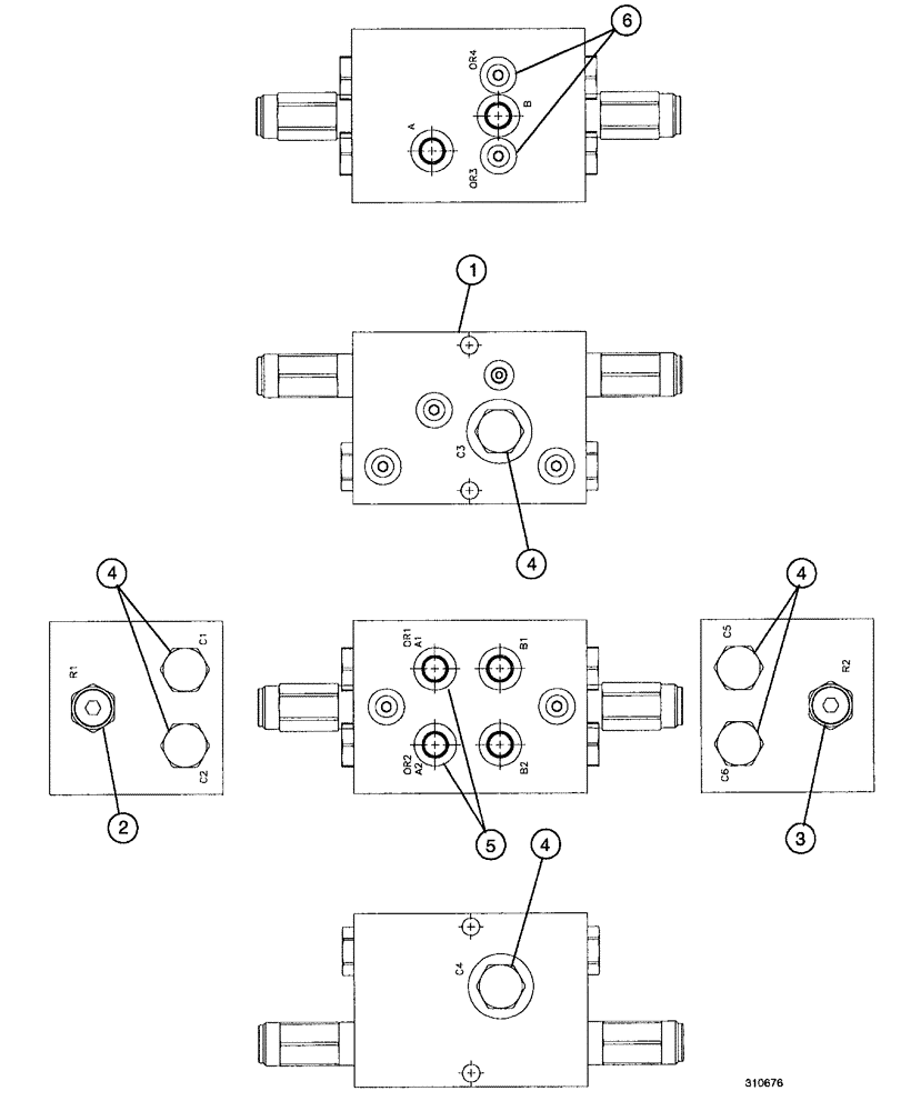
1

BN311971

VALVE BODY

boom break away

1шт.

2

BN311972

VALVE

#10 relief, DIFF AERA, 2950 PSI

1шт.

BN313570

KIT

seal

1шт.

Indicates service parts for above ref. number

1шт.

3

BN311973

VALVE

#10 relief, DIFF AERA, 1500 PSI

1шт.

BN313570

KIT

seal

1шт.

Indicates service parts for above ref. number

1шт.

4

BN311974

VALVE

#10 check 5 PSI

6шт.

BN313570

KIT

seal

6шт.

Indicates service parts for above ref. number

1шт.

5

BN311957

PLUG

orifice, 1/16 NPT x .070 DIA.

2шт.

6

BN311975

PLUG

orifice, 1/16 NPT x .031 DIA.

2шт.

Выбрано товаров: 12