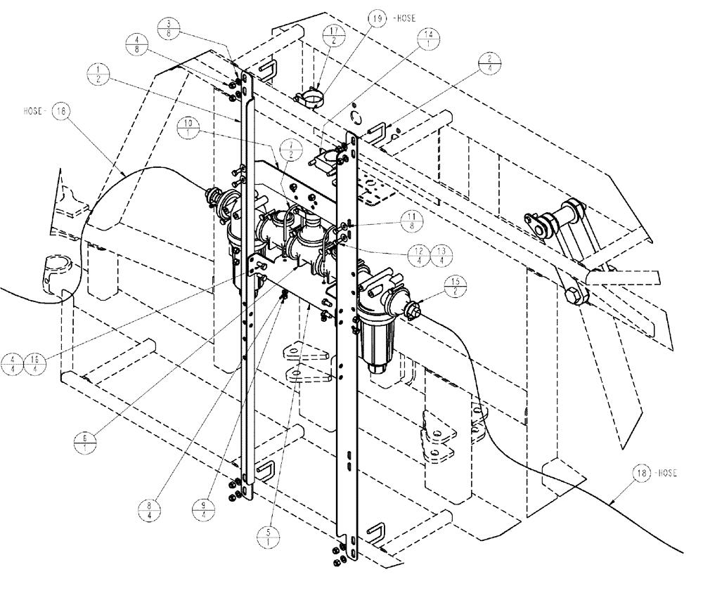
Запчасти Case IH SPX4410 (09-047) - PLUMBING, CENTER SECTION, 6 SECTION, LO-FLOW Liquid Plumbing

Схема запчастей Case IH SPX4410 - (09-047) - PLUMBING, CENTER SECTION, 6 SECTION, LO-FLOW Liquid Plumbing
8
2
14
17
19
9
11
5
4
13
15
18
16
1
4
11
7
10
6
18
3
FIT
1:1
100%

Артикул

Название

Примечание

Количество

1

87267543

SUPPORT

Mount, Manifold 778D

2шт.

2

BN319918

U-BOLT,SQ BND 1.31" ID x 3/8"

BOLT "U" Square Bend 3/8"-16 x 1.31 wide x 2.00 Deep

4шт.

3

BN50146

WASHER,3/8", Stainless

8шт.

4

BN50759

LOCK NUT,3/8"-16, Nylon, Stainless

12шт.

5

87265454

SUPPORT

Mount, Lo-Flow Manifold

1шт.

6

87272051

Center Section, LO, See Fig 09-027

1шт.

7

BN303201

U-BOLT

BOLT "U" 1/4 x 2.38R x 3.75

2шт.

8

87361

WASHER,0.28" ID x 0.62" OD x 0.07" Thk

4шт.

9

280129

NUT,1/4"-20

4шт.

10

BN325194

BRACKET, SUPPORTING

5 SECT., CTR

1шт.

11

BN50142

WASHER,5/16", Stainless Steel

8шт.

12

BN50476

BOLT,5/16"-18 x 0.75", Stainless

4шт.

13

BN55361

NUT,5/16"-18, Nylon, Stainless

4шт.

14

343818A1

CLAMP

1 1/2" Pipe, Vinyl Insulated

1шт.

14

343819A1

U-BOLT

3/8"-16 x 2.42" id, 2.20" long

1шт.

14

87343970

NUT,3/8"-16, G8, DOR

2шт.

15

BN320156

HOSE CLAMP

#24, Stainless Steel

2шт.

16

BN50250

BOLT,3/8"-16 x 3/4", Stainless Steel

4шт.

17

BN53811

CLAMP

2" ID, T-bolt

2шт.

18

BN319019

HOSE,1.00" ID x 105.00"

EPDM

2шт.

19

BN53621

HOSE,1.50" ID BULK

Suction, EPDM

1шт.

Выбрано товаров: 21