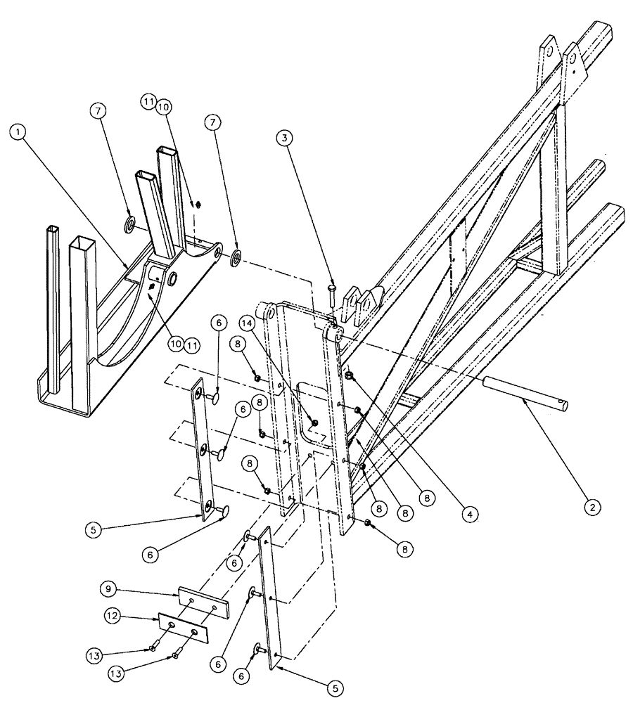
Запчасти Case IH SPX4410 (08-012) - 80 OUTER BOOM ASSEMBLY, LH (09) - BOOMS

Схема запчастей Case IH SPX4410 - (08-012) - 80 OUTER BOOM ASSEMBLY, LH (09) - BOOMS
8
6
10
6
9
10
3
14
13
8
2
6
8
6
8
1
4
5
7
7
5
13
6
8
8
11
6
11
12
8
FIT
1:1
100%

Артикул

Название

Примечание

Количество

1

BN320281

BOOM

LH Outer, 80'

1шт.

2

BN307893

PIN,25.4mm OD x 236.47mm L

V-Fold

1шт.

3

86624080

HEADED PIN,9.53mm OD x 50.8mm L

1шт.

4

80755

COTTER PIN,1/8" OD x 1" L

1шт.

5

BN69856

PLATE

Liner-Plastic 3/16 X 2 X 17.50

2шт.

6

BN50014

BOLT

5/16"-18 x .75, EH

6шт.

7

87016608

WASHER,25.8mm ID x 44.5mm OD x 5mm Thk

2шт.

8

BN50057

LOCK NUT,Lock, 5/16"-18, Stainless Steel

6шт.

9

BN305437

BUMPER

Rubber, 2 X 5.5 X .38

1шт.

10

BN302051

NIPPLE, LUBE,M8 x 1, Straight

NIPPLE 8 mm x 1 Straight

2шт.

11

BN55015

NIPPLE, LUBE

NIPPLE Grease-Lithium 12-Grade # 2, 0.1

1шт.

12

87266608

STEEL PLATE

Fold Bumper

1шт.

13

280591

HEX SOC SCREW,Flat Hd, 5/16" - 18 x 1 1/4"

2шт.

14

BN55361

NUT,5/16"-18, Nylon, Stainless

2шт.

Выбрано товаров: 14