Качественные детали и логистика
Оригинальные и аналоговые запчасти с доставкой по России, Казахстану и Беларуси
©2022 PartSell ООО "Система" ИНН 2463123282 ОГРН 1212400004838
Центральный офис: г. Красноярск, Академика Киренского, д.87, пом.4
Телефон: 8 (800) 777-65-74 Email: zakaz@partsell.ru
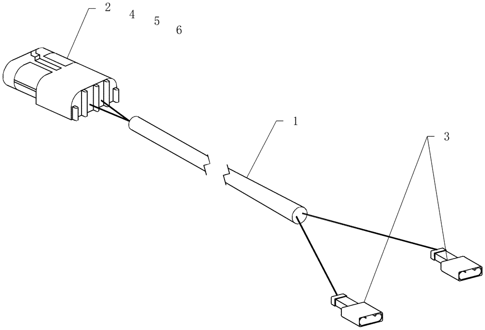
(A.30.A[05]) - ELECTRICAL - CABLE, ADAPTER SOLENOID FOR BOOM CONTROLLER SP655
№
Артикул
Название
Примечание
Количество
1
14808V2
HARNESS
adapter ball valve/solenoid
1шт.
2
245487C1
ELEC CONNECTOR,Male, 4 Pin
plastic 4c receptacle
3
425044A1
TERMINAL CONNECTOR,22 - 18 SAE
terminal disc 22-18awg 1/4" f
2шт.
4
225124C1
SEAL,2 - 2.9 mm2
seal grn 2.8-2 omm
5
225127C1
PLUG
cavity, green rubber
6
225120C1
TERMINAL CONNECTOR,Tin, 0.8mm
18-20awg
Выбрано товаров: 0