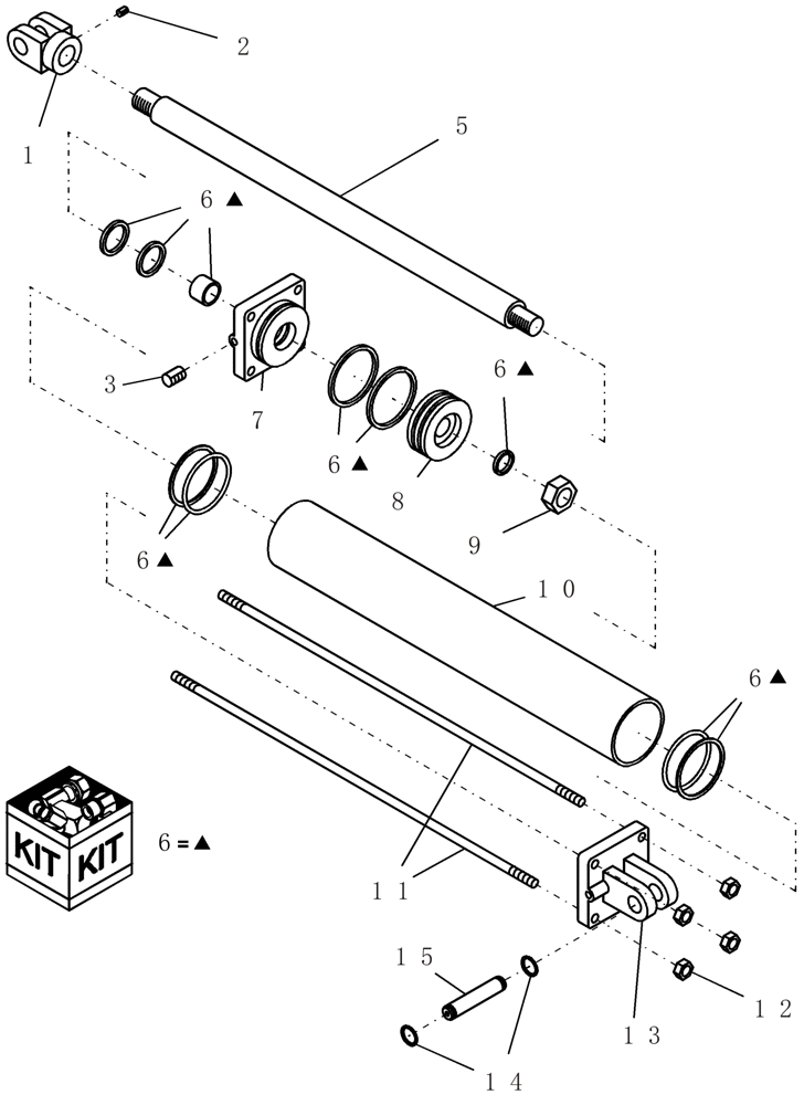
Запчасти Case IH SRX100 (H.20.G[07]) - HYDRAULIC - SUSPENDED BOOM - 2 1/2" X 16" CYLINDER ASSEMBLY H - Working Arm

Схема запчастей Case IH SRX100 - (H.20.G[07]) - HYDRAULIC - SUSPENDED BOOM - 2 1/2" X 16" CYLINDER ASSEMBLY H - Working Arm
12
2
13
6
6
6
14
3
8
9
10
11
15
6
1
7
6
6
5
FIT
1:1
100%

Артикул

Название

Примечание

Количество

0

87505171

HYDRAULIC CYLINDER,31.75mm Rod, 406.4mm Stroke

2 1/2" x 16" Monarch 3000 psi 1 1/4" rod

1шт.

1

87449358

CLEVIS

cylinder 1" pin Monarch 1 1/8"-12 rod

1шт.

2

87314803

SET SCREW,Hex Skt, 3/8" - 16 x 1/2"

1шт.

3

71100209

PLUG,Hex Soc, 3/4"-16 ORB

1шт.

2a

1029632

PLUG

nylon 5/16" od x 1/4" pln solid

1шт.

5

87577842

SHAFT

cyl 1 1/4" x 16" Monarch part# 492641

1шт.

6

87577841

SEAL KIT

cyl rep 2 1/2" w/ psp Monarch part # 645069

1шт.

7

87409409

HEAD

cylinder front 2.5" bore x 1.25" rod

1шт.

8

439277A1

PISTON

cylinder, 2 1/2" Monarch* part #495046

1шт.

9

425038A1

NUT

cylinder piston 3/4"-16, GA

1шт.

10

87577843

TUBE,2.6 mm DIA x 16 mm L

cyl 2 1/2" x 16" Monarch part #491676

1шт.

11

87577844

THREADED TIE-ROD

cyl 2 1/2" x 16" Monarch part # 492226

4шт.

12

9628503

NUT,3/8"-16, G5

8шт.

13

439275A1

CYLINDER END CAP

cylinder base 2 1/2" bore

1шт.

14

87019495

SNAP RING,#98, Ext

2шт.

15

3326

PIN

cylinder 1" x 2 7/8" ul hardened with snap rings

1шт.

Выбрано товаров: 16