Запчасти Case IH SRX100 (L.20.A[02]) - ELECTRICAL - 4 LINE MONITOR, SWITCHED POWER ADAPTER CABLE L - Field Processing

Схема запчастей Case IH SRX100 - (L.20.A[02]) - ELECTRICAL - 4 LINE MONITOR, SWITCHED POWER ADAPTER CABLE L - Field Processing
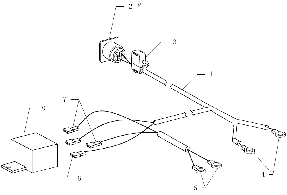
4
2
6
7
3
5
9
1
8
FIT
1:1
100%

Артикул

Название

Примечание

Количество

1

14294

HARNESS

power adapter

1шт.

2

225164C1

ELEC CONNECTOR

plastic 3c receptacle

1шт.

3

13972

FUSE HOLDER

inline ato 12awg

1шт.

3

92277

FUSE,30 Amp

1шт.

4

412732A1

ELEC. TERMINAL PIN,3 - 6 mm2

terminal ring 10-12awg 5/16" yellow

2шт.

5

425054A1

TERMINAL CONNECTOR,22 - 16 SAE

terminal ring 22-16awg 1/4 pvc

2шт.

6

225185C1

TERMINAL CONNECTOR

disc 12-10awg

2шт.

7

425044A1

TERMINAL CONNECTOR,22 - 18 SAE

terminal disc 22-18awg 1/4" f

2шт.

8

1983420C2

RELAY

12v 85 ohm c/w bracket

1шт.

9

223-95

TERMINAL CONNECTOR,Female, 14 - 16

contact pin 8-10awg

2шт.

100

87578623

ELECTRICAL WIRE

WIRE 10awg blk xple cop 19/.57

3шт.

Not Shown

1шт.

100

12300

MULTIPOLE CONNECTOR

acc prl splce nonins

1шт.

Not Shown

1шт.

Выбрано товаров: 14