Запчасти Case IH SRX160 (A.30.A[06]) - ACCESSORIES - SERIAL CABLE ASSEMBLY A - Distribution Systems

Схема запчастей Case IH SRX160 - (A.30.A[06]) - ACCESSORIES - SERIAL CABLE ASSEMBLY A - Distribution Systems
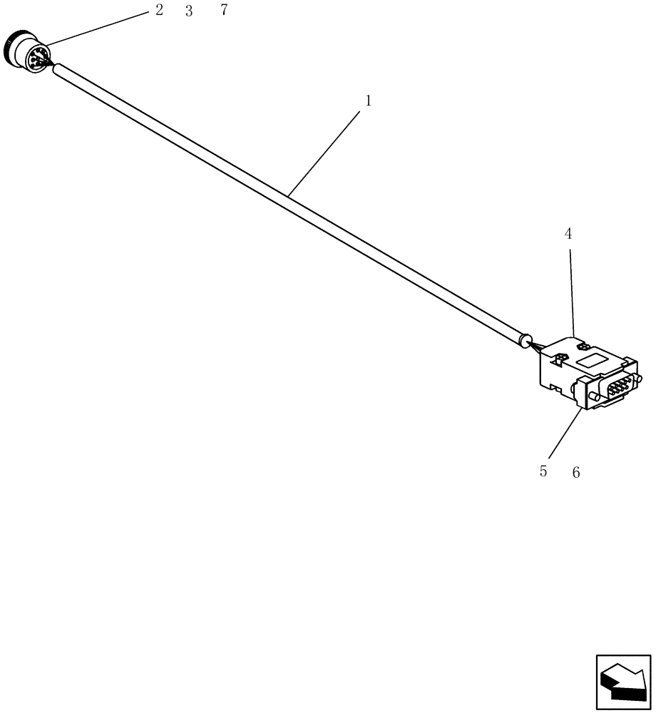
1
2
6
3
7
4
5
FIT
1:1
100%

Артикул

Название

Примечание

Количество

1

412736A1

HARNESS

assy 4 m serial - extension

1шт.

2

84068583

PLUG,12 - 16 Ga, White

connector cavity white plastic

6шт.

3

291658A1

ELEC CONNECTOR,Female, 9 Pin

plastic 9c plug

1шт.

4

425445A1

ELEC CONNECTOR

cable clamp d-type 1

1шт.

5

425444A1

ELEC CONNECTOR

cab metal d-type 9-cond

1шт.

6

425443A1

CONTACT HOUSING

20-24awg

3шт.

7

86500036

TERMINAL,Female, Nickel, 0.75 - 2mm

16-18awg

3шт.

Выбрано товаров: 7