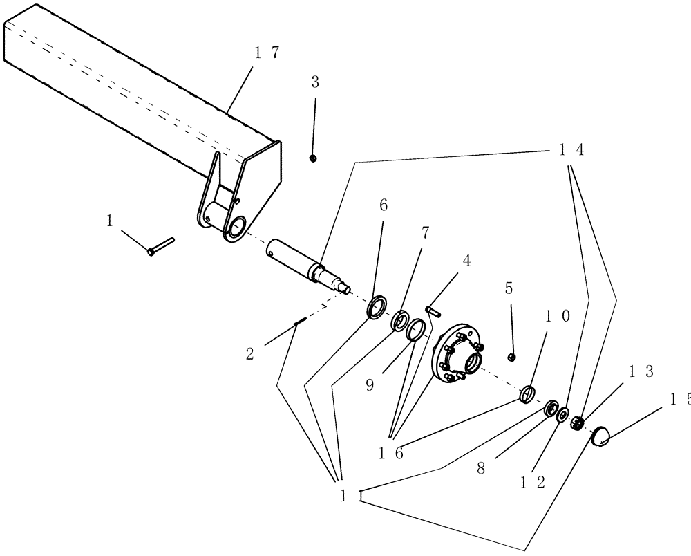
Запчасти Case IH SRX160 (D.12.A[02]) - WHEEL - ASSEMBLY, CART 817 HUB AND SPINDLE D - Travel

Схема запчастей Case IH SRX160 - (D.12.A[02]) - WHEEL - ASSEMBLY, CART 817 HUB AND SPINDLE D - Travel
14
7
11
13
16
10
9
2
4
15
1
6
8
12
3
5
17
FIT
1:1
100%

Артикул

Название

Примечание

Количество

1

88729

BOLT,Hex, 5/8" - 11 x 5", Gr 5

1шт.

2

87400

COTTER PIN,3/16" x 2"

1шт.

3

85700693

NUT,5/8" - 11, Gr C

1шт.

4

2739

STUD

5/8"-18 x 2 1/2" wb46

8шт.

5

554480R1

WHEEL NUT

hub wheel 5/8"-18, GB

8шт.

6

5044

OIL SEAL

75-88lm hub

1шт.

7

86577076

BEARING ASSY,55.75mm ID x 122.26mm OD x 33.54mm W

#387as

1шт.

8

86512015

TAPERED BEARING,41.27mm ID x 73.46mm OD x 19.63mm W

Cup & Cone

1шт.

9

105497H

BEARING CUP,96.85mm OD x 15.77mm W

#382-A

1шт.

10

86512015

TAPERED BEARING,41.27mm ID x 73.46mm OD x 19.63mm W

Cup & Cone

1шт.

11

412772A1

KIT

hub bearing completion h817

1шт.

Includes 2116, 5044, 5045, 5046 and 23433

1шт.

12

412778A1

WASHER,31.75mm ID

spindle wa23 1 1/4" id

1шт.

13

7666

SLOTTED NUT,1 1/4"-12, G2

1шт.

14

87501753

SPINDLE

S817-3" x 14 1/64" stress proof

1шт.

15

51200087

CAP

Hub H817 & 75-88LM

1шт.

16

87505485

HUB

H817-4 assembly with cups & studs & nuts

1шт.

17

87501685

AXLE

8b 4 offset 62-120 sp

1шт.

Выбрано товаров: 18