Запчасти Case IH SRX160 (L.20.A[07]) - ELECTRICAL - 4 LINE MONITOR, SOLENOID ADAPTER CABLE C/W RELAY L - Field Processing

Схема запчастей Case IH SRX160 - (L.20.A[07]) - ELECTRICAL - 4 LINE MONITOR, SOLENOID ADAPTER CABLE C/W RELAY L - Field Processing
2
4
6
1
3
3
5
3
FIT
1:1
100%

Артикул

Название

Примечание

Количество

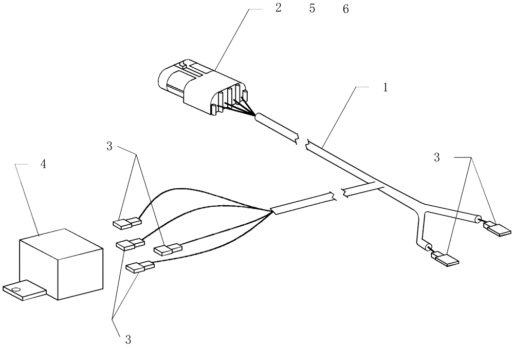
1

87558402

ADAPTER

solenoid relay 4 pin

1шт.

2

245487C1

ELEC CONNECTOR,Male, 4 Pin

plastic 4c receptacle

1шт.

3

425044A1

TERMINAL CONNECTOR,22 - 18 SAE

terminal disc 22-18awg 1/4" f

6шт.

4

1983420C2

RELAY

12v 85 ohm c/w bracket

1шт.

5

225124C1

SEAL,2 - 2.9 mm2

seal grn 2.8-2 omm

4шт.

6

225120C1

TERMINAL CONNECTOR,Tin, 0.8mm

18-20awg

4шт.

Выбрано товаров: 6