Запчасти Case IH PATRIOT (06-008) - HYDRAULIC PLUMBING - TOW HITCH (S/N 05920092 AND UP) Hydraulic Plumbing

Схема запчастей Case IH PATRIOT - (06-008) - HYDRAULIC PLUMBING - TOW HITCH (S/N 05920092 AND UP) Hydraulic Plumbing
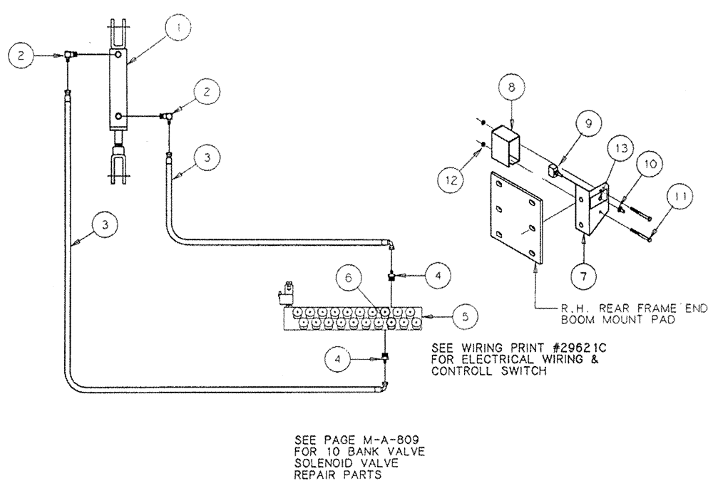
1
9
5
13
4
10
4
3
8
2
2
11
7
12
3
6
FIT
1:1
100%

Артикул

Название

Примечание

Количество

1

BN29530

CYLINDER

Hydraulic w/Clevis (Complete)

1шт.

BN98181

SEAL KIT

Urethane 5000 PS

1шт.

2

BN21401

ELBOW,90 Degree 3/8" NPT x 7/16"-20 JIC

2шт.

3

BN54155

HOSE,0.25" ID x 33.00", SAE 100R1

2шт.

4

BN51589

FITTING

STR.-9/16-18 O-Ring x 7/16-20 JIC

2шт.

5

BN29951

Complete 10-Bank w/7 Solenoid

1шт.

See M-A-809 for Seals & Repair Parts

1шт.

BN24110

Valve

1шт.

6

BN29788

CARTRIDGE

Solenoid w/Coil

2шт.

7

BN24103

MOUNTING PLATE

1шт.

8

BN24106

COVER

1шт.

9

BN29445

SWITCH

On-Off-On

1шт.

10

BN24100

Switch

1шт.

11

BN50790

BOLT

1/4" x 3 1/2"

2шт.

12

BN50051

NUT,1/4"-20, USR

2шт.

13

BN24101

DECAL

Raise Lower Hitch

1шт.

Выбрано товаров: 16