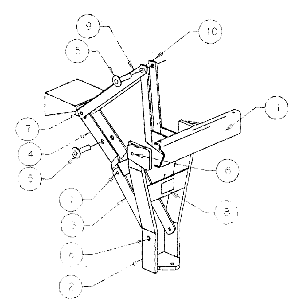
Запчасти Case IH PATRIOT (11-001) - TOW HITCH ASSEMBLY Options

Схема запчастей Case IH PATRIOT - (11-001) - TOW HITCH ASSEMBLY Options
9
5
7
8
2
3
6
6
1
7
5
4
10
FIT
1:1
100%

Артикул

Название

Примечание

Количество

1

BN29535

MOUNTING PLATE

1шт.

2

BN29531

Hitch

1шт.

3

BN29541

LINKAGE

1шт.

4

BN29540

SUPPORT

2шт.

5

BN29544

PIN

2шт.

6

BN29548

BUSHING

4шт.

7

BN29549

BUSHING

4шт.

8

BN29796

Decal

1шт.

9

BN25151

SUPPORT

L.H.

1шт.

10

BN25152

SUPPORT

R.H.

1шт.

Выбрано товаров: 10