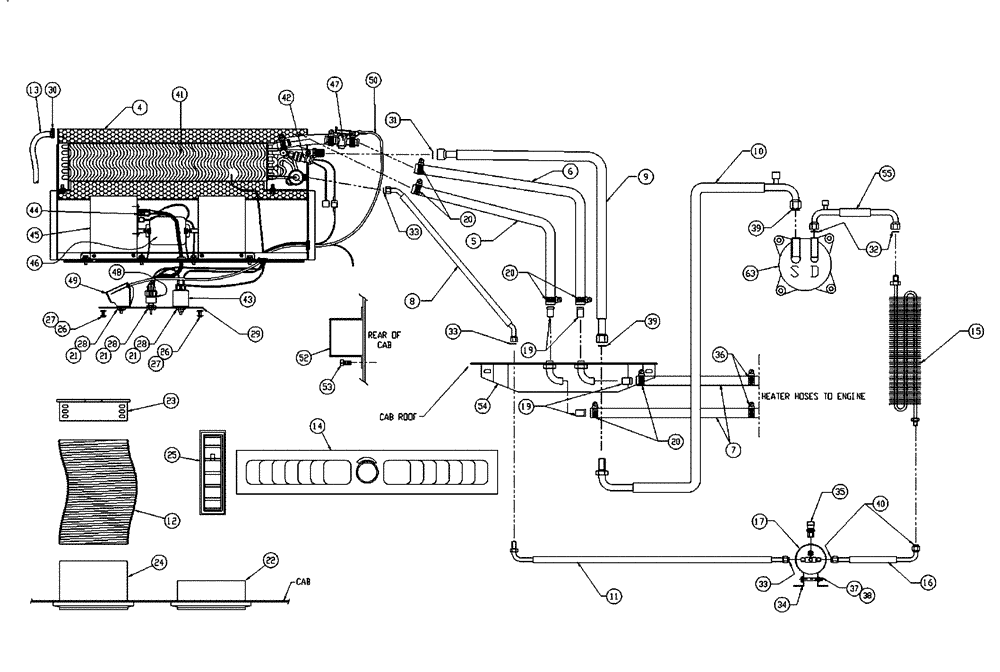
Запчасти Case IH PATRIOT 150 (02-002) - HEATER & AIR CONDITIONER Cab Exterior

Схема запчастей Case IH PATRIOT 150 - (02-002) - HEATER & AIR CONDITIONER Cab Exterior
33
50
11
32
21
4
21
42
8
47
10
41
44
28
6
31
40
63
14
36
34
35
20
19
33
43
38
15
30
9
37
48
26
27
21
25
28
24
55
17
23
13
49
20
20
39
29
22
54
45
52
27
16
53
39
46
5
26
28
33
12
7
FIT
1:1
100%

Артикул

Название

Примечание

Количество

0

BN68984

Package A/C Cab

1шт.

Includes BN67225 & Refs. 4 - 14

1шт.

4

BN67746

HOUSING

Evaporator Heater

1шт.

5

BN67788

HEATER HOSE,0.625" ID

1шт.

6

BN67789

HEATER HOSE,0.625" ID

1шт.

7

BN67790

HEATER HOSE,0.625" ID

2шт.

8

BN67791

HOSE

w/ O-Ring (A.C.)

1шт.

9

BN67792

HOSE

1шт.

10

BN67793

HOSE

1шт.

11

BN67794

HOSE

w/ O-Ring (A.C.)

1шт.

12

BN67795

HOSE

2шт.

13

BN67796

TUBE

Poly Loom Drain

2шт.

14

BN68991

PANEL

Twin Panel

1шт.

14a

BN68980

A\C Line

1шт.

Includes Refs. 15 - 17 & BN68993

1шт.

15

BN67785

CONDENSER

Coil

1шт.

16

BN67787

HOSE

w/ O-Ring (A.C.)

1шт.

17

BN67797

RECEIVER-DRYER

1шт.

17a

BN67725

Part

1шт.

Includes Refs. 19 - 33

1шт.

19

86010532

FITTING,5/8" Hose X 1/2" NPTF Beaded

4шт.

20

BN67730

COLLAR

Heater Hose

6шт.

21

BN67731

NUT

control mounting

3шт.

22

BN67732

VENT

Louver 3" DIA. Flat

4шт.

23

BN67733

HOSE

3" DIA.

2шт.

24

BN67734

VENT

Louver W/Hose Adapter

2шт.

25

BN67735

VENT

Louver 1 1/4 x 4 1/2 Rect

4шт.

26

BN67736

BOLT

1/4-20 x .50 TH

4шт.

27

BN67737

Lock, Internal Tooth 1/4

4шт.

28

BN67740

KNOB

control

3шт.

29

BN67741

DECAL

Control Plate W/Decal

1шт.

30

BN67742

HOSE CLAMP

4шт.

31

BN67743

O-RING

#10

1шт.

32

BN67744

O-RING

#8

2шт.

33

BN67745

O-RING

#6

3шт.

33a

BN68993

Parts

1шт.

Includes Refs. 34 - 40

1шт.

34

BN67726

CLAMP

receiver dryer

1шт.

35

BN67727

PRESSURE SWITCH

High

1шт.

36

BN67730

COLLAR

Heater Hose

2шт.

37

BN67738

CAPSCREW

1/4-20 x 2.00

1шт.

38

BN67739

WASHER

1/4

1шт.

39

BN67743

O-RING

#10

2шт.

40

BN67745

O-RING

#6

2шт.

41

BN69701

EVAPORATOR

Heater

1шт.

42

BN69702

PRESSURE SWITCH

Low

1шт.

43

BN69703

SWITCH

Cold Control

1шт.

44

BN69705

BLOCK

Resistor

1шт.

45

BN69706

BLOWER

1шт.

46

BN69707

SHAFT

Blower

1шт.

47

BN69708

VALVE

Water, Inline

1шт.

4r

73107110

BLOWER SWITCH

3 Speed

1шт.

49

BN69710

CONTROL

Rotary

1шт.

50

BN69711

CABLE

Push-pull

1шт.

52

BN67233

COVER

Enclosure

1шт.

53

BN68503

SCREW,Hex, Slotted, 1/4" x 1/2"

SL Hex Head 1/4 x 1/2

10шт.

54

BN67163

COVER

1шт.

55

BN67786

HOSE

1шт.

63

BN67784

COMPRESSOR

1шт.

BN98808

FILTER

A/C Recirculation Filter, Not Shown

2шт.

Выбрано товаров: 60