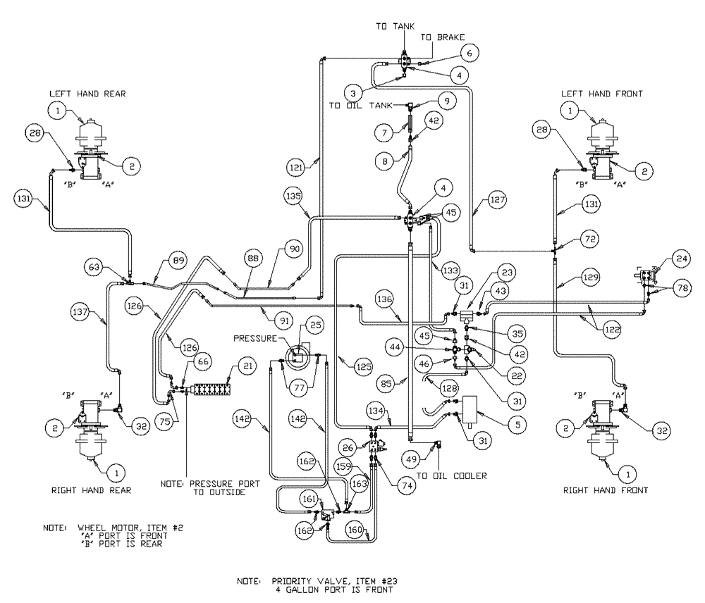
Запчасти Case IH PATRIOT 150 (06-001) - HYDRAULIC PLUMPING-BASIC UNIT Hydraulic Plumbing

Схема запчастей Case IH PATRIOT 150 - (06-001) - HYDRAULIC PLUMPING-BASIC UNIT Hydraulic Plumbing
42
26
1
125
77
21
136
7
22
137
25
46
160
88
129
134
44
85
135
163
133
31
126
66
89
72
2
122
5
91
142
43
31
90
31
4
3
142
1
161
159
1
8
23
2
32
162
28
121
49
9
162
45
2
42
131
1
6
75
35
28
131
78
74
4
63
126
24
127
45
32
2
128
FIT
1:1
100%

Артикул

Название

Примечание

Количество

1

BN66385

HUB

Planetary-Front

2шт.

See Fig. 05-001 for Seals & Repair Parts

1шт.

1a

BN66384

Planetary-Rear W/lntegral Brake

2шт.

Same Part Of Hub - Planetary - Front, P/N BN66385 But Opposite Side

1шт.

See Fig. 05-001 for Seals & Repair Parts

1шт.

1b

BN27372

CAP

hub cover

4шт.

Associated Part Of Hub - Planetary - Rear w/lntegral Brake, P/N BN66384

1шт.

2

BN54215

MOTOR

Wheel

4шт.

BN54215R

REMAN-HYD MOTOR

Patriot 150,

4шт.

BN54215C

CORE-HYDRAULIC PUMP

Return Number

1шт.

2a

BN54033

O-RING,0.103" Thk x 3.987" ID, -155, Cl 5, 75 Duro

4шт.

Service Parts For Ref. 2

1шт.

Between Hub & Wheel Motor

1шт.

2b

BN98186

SEAL

lip, shaft

4шт.

Service Parts For Ref. 2

1шт.

2c

87268405

SNAP RING

4шт.

Service Parts For Ref. 2

1шт.

3

BN22240

CROWN NUT,1-1/16"-12 , 37 Degree

1шт.

4

BN67245

MANIFOLD

Solenoid & Relief

2шт.

5

BN67579

PUMP

Tandem Gear 1.29/1.08 CCW

1шт.

5a

BN98608

SEAL

shaft, for BN27195

1шт.

Service Parts For Ref. 5

1шт.

5b

BN98609

REPAIR KIT

W/Wear Plates And Seals

1шт.

Service Parts For Ref. 5

1шт.

6

BN22431

CROWN NUT,3/4"-16, 37 Degree

1шт.

7

BN67312

CHECK VALVE

1шт.

8

BN67311

HOSE

3/4" ID x 110"

1шт.

9

BN67313

90° 3/4M x 12M O-Ring

1шт.

21

BN29345

Valve-7 Bank

1шт.

See Fig. 06-010 for Seals & Repair Parts

1шт.

21a

BN25229

SHIELD

7 & 8 Bank Valve - Cover

1шт.

Associated Part Of Valve - 7 Bank, P/N BN29345

1шт.

21b

BN25230

MOUNTING PLATE

7 & 8 Bank Valve Cover

1шт.

Associated Part Of Valve - 7 Bank, P/N BN29345

1шт.

22

BN29234

VALVE PRESSURE RELIE,1-1/16" - 12

O-Ring Port

1шт.

23

BN29237

VALVE, PRESSURE RELI

EF Priority, 4.5 Gallons @ 150

1шт.

24

Orbitrol-Steering Control

1шт.

See Fig. 01-003

1шт.

24a

BN98233

SEAL KIT

for BN29233

1шт.

Service Parts For Ref. 24

1шт.

25

BN53670

HYDROSTATIC PUMP

Sprayer

1шт.

See Fig. 09-002 for Seal & Repair Parts

1шт.

BN53670R

REMAN-HYDROSTAT PUMP

PATRIOT 150 (2/96 - 6/97)

1шт.

BN53670C

CORE-HYDROSTAT PUMP

Return Number

1шт.

26

BN29970

MANIFOLD

Solenoid & Relief Valve

1шт.

26a

BN95962

KIT seal

1шт.

Service Parts For Ref. 26

1шт.

26b

BN95744

CARTRIDGE

For 29970

1шт.

Service Parts For Ref. 26

1шт.

26c

BN95745

COIL

solenoid valve

1шт.

Service Parts For Ref. 26

1шт.

26d

BN98607

VALVE PRESSURE RELIE

for BN29970 (2000 PSI)

1шт.

Service Parts For Ref. 26

1шт.

28

BN67864

ADAPTER

1-1/16"-12 O-ring x 7/8-14 JIC

2шт.

28a

BN98017

O-RING

SAE-12 Buna N

2шт.

Associated Part Of Adapter STR - 1-1/16-12 O-Ring x 7/8-14 JIC, P/N BN67864

1шт.

31

BN444003

FITTING

Adapter Str.-1 1/16-12 O-Ring x 3/4-16 JIC

4шт.

31a

BN98017

O-RING

SAE-12 Buna N

1шт.

Associated Part Of Adapter STR - 1-1/16-12 O-Ring x 3/4-16 JIC, P/N BN444003

1шт.

32

BN67865

ELBOW

Adapter, 90°, 1-1/16"-12 O-ring x 7/8"-14 JIC

2шт.

32a

BN98017

O-RING

SAE-12 Buna N

1шт.

Associated Part Of Adapter - 90° 1-1/16-12 O-Ring x 7/8-14 JIC, P/N BN67865

1шт.

35

BN444001

FITTING

Adapter STR-1 1/16-12 O-Ring x 1 1/16-12 JIC

1шт.

35a

BN98017

O-RING

SAE-12 Buna N

1шт.

Associated Part Of Adapter STR - 1-1/16-12 O-Ring x 1-1/16-12 JIC, P/N BN444001

1шт.

42

BN57224

FITTING

Adapter STR-1 1/16-12 O-Ring x 1 1/16-12 JIC

2шт.

42a

BN98017

O-RING

SAE-12 Buna N

1шт.

Associated Part Of Adapter STR - 1-1/16-12 O-Ring x 1-1/16-12 JIC, P/N BN57224

1шт.

43

BN57225

FITTING

Adapter STR-1 1/16-12 O Ring x 9/16-18 JIC

1шт.

43a

BN98017

O-RING

SAE-12 Buna N

1шт.

Associated Part Of Adapter STR - 1-1/16-12 O-Ring x 9/16-18 JIC, P/N BN57225

1шт.

44

BN446032

TEE

1 1/16-12 O-Ring x 1 1/16-12 JIC

1шт.

44a

BN98017

O-RING

SAE-12 Buna N

1шт.

Associated Part Of Tee - 1-1/16-12 O-Ring x 1-1/16-12 JIC, P/N BN446032

1шт.

45

BN53715

REDUCER

1-1/16"-12 Female JIC x 3/4-16 Male JIC

3шт.

46

BN53716

FITTING

Reducer - 1 1/16-12 Femle JIC x 9/16-18 Male JIC

1шт.

49

BN67881

ADAPTER

90º 1" NPT x #16 JIC

1шт.

63

BN69126

TEE

1 1/16-12 x 7/8"-14 Male JIC

1шт.

66

BN60440

ADAPTER

STR-9/16-18 O-Ring x 3/4-16 JIC

2шт.

66a

BN98019

O-RING

#6

2шт.

Associated Part Of Adapter STR - 9/16-18 O-Ring x 3/4-16 JIC, P/N BN60440

1шт.

72

BN69127

TEE

1 1/16-12 x 7/8"-14 JIC

1шт.

74

BN444004

FITTING

4шт.

74a

BN98018

O-RING

#8

4шт.

Associated Part Of Adapter - 3/4-16 O Ring x 3/4-16 JIC, P/N BN444004

1шт.

75

BN53707

FITTING

Elbow-90° 3/4-16 JIC

2шт.

77

BN441006

ADAPTER

1/2 NPT-8 JIC

2шт.

78

BN57226

ADAPTER

3/4-16 O-Ring x 9/16-18 JIC

2шт.

78a

BN98018

O-RING

#8

2шт.

Associated Part Of Adapter - 3/4-16 O-Ring x 9/16-18 JIC, P/N BN57226

1шт.

85

BN69758

HOSE

1" x 85"

1шт.

88

BN67650

HYD TUBE

Steel, 3/4", 2350 PSI, Front

1шт.

89

BN67649

HYD TUBE

Steel, 3/4", 2350 PSI

1шт.

90

BN66214

TUBE ASSY.

Steel, 1/2"

1шт.

91

BN65101

TUBE

steel, 1/2"

1шт.

121

BN67874

HOSE ASSY.

3/4" x 22"

1шт.

122

BN68815

PLATE

3/8" x 80"

2шт.

125

BN53968

HOSE

1/2" x 20"

1шт.

126

BN53818

HOSE

1/2" ID x 66" 100R2

2шт.

127

BN69595

HOSE

3/4" x 64" 100R1

1шт.

128

BN66215

HOSE

1/2" x 39"

1шт.

129

BN67869

HOSE

Assembly, 5/8" x 110"

1шт.

131

BN69596

HOSE

5/8" x 110"

2шт.

133

BN54170

HOSE

1/2" x 74"

1шт.

134

BN66216

HOSE

1/2" x 49"

2шт.

135

BN53970

Hose Assembly, 1/2" x 12"

1шт.

136

BN54186

HOSE

1/2" x 30"

1шт.

137

BN67870

HOSE

5/8" x 97"

1шт.

142

BN54238

HOSE

1/2" x 42", 100R2

2шт.

159

BN53501

HOSE,0.50" ID x 30.00", SAE 100R2

1шт.

500 Gallon Tank

1шт.

159

BN53728

HOSE

1/2" x 56"

1шт.

Indicates Old Part Number Or Can Order Newer Part Number Listed Above

1шт.

700 S.S. & 750 Elliptical

1шт.

159

BN55327

HOSE

1/2" x 26"

1шт.

Indicates Old Part Number Or Can Order Newer Part Number Listed Above

1шт.

750 SPH.

1шт.

160

BN55327

HOSE

1/2" x 26"

1шт.

500 Gallon Tank

1шт.

160

BN55328

1/2" x 39"

1шт.

Indicates Old Part Number Or Can Order Newer Part Number Listed Above

1шт.

700 S.S.

1шт.

160

BN55326

HOSE

1/2" x 16"

1шт.

Indicates Old Part Number Or Can Order Newer Part Number Listed Above

1шт.

750 SPH.

1шт.

160

BN55331

HOSE

1/2" x 50"

1шт.

Indicates Old Part Number Or Can Order Newer Part Number Listed Above

1шт.

750 Elliptical

1шт.

161

BN65468

REGULATOR

Flow

1шт.

162

BN444008

FITTING

Adapter - O-Ring 37 Flare 10

3шт.

163

BN55452

Tee - JIC 3/4-16 Male - Female

1шт.

Выбрано товаров: 131