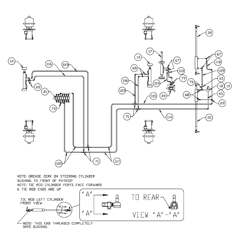
Запчасти Case IH PATRIOT 150 (06-003) - HYDRAULIC PLUMPING-STEERING 7-BANK VALVE Hydraulic Plumbing

Схема запчастей Case IH PATRIOT 150 - (06-003) - HYDRAULIC PLUMPING-STEERING 7-BANK VALVE Hydraulic Plumbing
79
14
14
119
65
21
113
67
65
117
69
115
116
123
18
65
20
70
20
17
71
113
19
118
65
73
71
105
68
116
67
24
123
FIT
1:1
100%

Артикул

Название

Примечание

Количество

14

NSS

NOT SOLD SEPARAT

HYD. Cylinder - Axle Adjust

2шт.

Rod End Of Cylinder Must Be To Left Side Of Unit

1шт.

See Fig. 07-001

1шт.

17

BN63710

CYLINDER

HYD. - Steering

1шт.

See Fig. 07-010

1шт.

18

BN29788

CARTRIDGE

Solenoid Valve W/Coil

1шт.

18a

BN98231

COIL

1шт.

Associated Part Of Solenoid Valve w/Coil, P/N BN29788

1шт.

For P/N BN29788

1шт.

18b

BN98204

O-RING

BUNA-N, for BN29788

1шт.

Associated Part Of Solenoid Valve w/Coil, P/N BN29788

1шт.

For P/N BN29788

1шт.

18c

BN98205

O-RING

Top-Large

1шт.

Associated Part Of Solenoid Valve w/Coil, P/N BN29788

1шт.

For P/N BN29788

1шт.

19

BN29789

BODY

Valve

1шт.

For Ref. 18

1шт.

20

NSS

NOT SOLD SEPARAT

HYD. Cylinder - Tie Rod

2шт.

Adjust For 1/4" - 1/2" Less Than Rear Of Tires At Hub Center Line With Tire Facing Ahead) Adjust Toe In From Rod (Outer) End Of Cylinder

1шт.

See Fig. 07-011

1шт.

20a

359775A1

END ASSY.

Tie Rod, RH 1"-16 Thread

4шт.

Associated Part Of Hydraulic Cylinder - Tie Rod

1шт.

20b

BN98805

COVER

Dust - Rubber

4шт.

Associated Part Of Hydraulic Cylinder - Tie Rod

1шт.

Tie Rod End Clamps Must Be Installed As Shown With Bolts To Bottom And Nuts To Rear Of Patriot. After Adjusting Toe In, Both Tie Rod Ends On Each Cylinder Must Be In Alignment To Avoid Binding.

1шт.

Tie Rod End

1шт.

20c

BN98806

JAM NUT

4шт.

Associated Part Of Hydraulic Cylinder - Tie Rod

1шт.

Tie Rod End Clamps Must Be Installed As Shown With Bolts To Bottom And Nuts To Rear Of Patriot. After Adjusting Toe In, Both Tie Rod Ends On Each Cylinder Must Be In Alignment To Avoid Binding.

1шт.

Tie Rod End

1шт.

20d

BN04851

CLAMP

Tie Rod End, With Bolt

4шт.

Tie Rod End Clamps Must Be Installed As Shown With Bolts To Bottom And Nuts To Rear Of Patriot. After Adjusting Toe In, Both Tie Rod Ends On Each Cylinder Must Be In Alignment To Avoid Binding.

1шт.

Tie Rod End

1шт.

21

NSS

NOT SOLD SEPARAT

Valve-7 Bank

1шт.

See Fig. 06-010 for Seals & Repair Parts

1шт.

21a

BN25229

SHIELD

7 & 8 Bank Valve - Cover

1шт.

Associated Part Of Valve - 7 Bank

1шт.

21b

BN25230

MOUNTING PLATE

7 & 8 Bank Valve Cover

1шт.

Associated Part Of Valve - 7 Bank

1шт.

24

BN29233

HYDRAULIC STEERING

Control, Orbitrol

1шт.

24a

BN98233

SEAL KIT

for BN29233

1шт.

Associated Part Of Orbitrol - Steering Control, P/N BN29233

1шт.

65

BN21355

ADAPTER,1/4"-18 NPT x 7/16-20 JIC

6шт.

67

BN21401

ELBOW,90 Degree 3/8" NPT x 7/16"-20 JIC

4шт.

68

BN51352

BUSHING

1/4-18 x 3/8-18 NPT

2шт.

69

BN53711

TEE

1/4 NPT x 7/16-20 JIC

1шт.

70

BN53712

TEE

1/4" NPT

1шт.

71

BN21422

TEE

7/16-20 JIC

4шт.

73

BN22160

ELBOW

90° 9/16-18 O-Ring X 7/16-20 JIC

14шт.

Associated Part Of Orbitrol - Steering Control

1шт.

73a

BN98019

O-RING

#6

14шт.

Associated Part Of Orbitrol - Steering Control, P/N BN22160

1шт.

79

BN21249

ADAPTER,3/4" - 16 ORFS x 7/16" - 20 JIC

2шт.

79a

BN98018

O-RING

#8

2шт.

Associated Part Of Adapter - 3/4-16 O-Ring x 7/16-20 JIC, P/N BN21249

1шт.

105

BN54161

HOSE,0.25" ID x 52.00", SAE 100R1

2шт.

113

BN53813

HOSE

1/4" x 58"

2шт.

114

BN54155

HOSE,0.25" ID x 33.00", SAE 100R1

1шт.

115

BN54156

HOSE,0.25" ID x 30.00", SAE 100R1

1шт.

116

BN54157

Hose Assembly, 1/4" x 15"

2шт.

117

BN54158

HOSE,0.25" ID x 114.00", SAE 100R1

2шт.

118

BN54169

HOSE

1/4" x 44"

1шт.

119

BN53964

HOSE

1/4" ID x 15" 100R1

1шт.

123

BN54196

HOSE

1/4" x 18"

2шт.

Выбрано товаров: 64