Запчасти Case IH PATRIOT 150 (06-007) - HYDRAULIC PLUMPING-TOW HITCH Hydraulic Plumbing

Схема запчастей Case IH PATRIOT 150 - (06-007) - HYDRAULIC PLUMPING-TOW HITCH Hydraulic Plumbing
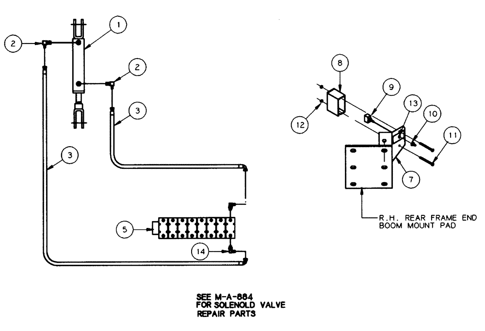
2
13
7
11
2
12
5
3
1
9
8
3
14
10
FIT
1:1
100%

Артикул

Название

Примечание

Количество

1

NSS

NOT SOLD SEPARAT

HYD. Cylinder - Hitch

1шт.

See Fig. 07-009

1шт.

2

BN21401

ELBOW,90 Degree 3/8" NPT x 7/16"-20 JIC

2шт.

3

BN54169

HOSE

1/4"x 44"

2шт.

5

NSS

NOT SOLD SEPARAT

Valve-8 Bank

1шт.

See Fig. 06-010 for Seals & Repair Parts

1шт.

5a

BN25229

SHIELD

7 & 8 Bank Valve - Cover

1шт.

Associated Part Of Valve - 8 Bank

1шт.

5b

BN25230

MOUNTING PLATE

7 & 8 Bank Valve Cover

1шт.

Associated Part Of Valve - 8 Bank

1шт.

7

BN24103

MOUNTING PLATE

1шт.

8

BN24106

COVER

1шт.

9

BN29445

SWITCH

On-Off-On

1шт.

10

BN24100

Boot

1шт.

11

BN50790

BOLT

1/4" x 3 1/2"

2шт.

12

BN50051

NUT,1/4"-20, USR

2шт.

13

BN24101

DECAL

Raise, Lower Hitch

1шт.

14

BN22160

ELBOW

90° 9/16-18 O-Ring X 7/16-20 JIC

2шт.

14a

BN98019

O-RING

#6

2шт.

Associated Part Of Adapter, P/N BN22160

1шт.

Выбрано товаров: 20