Запчасти Case IH PATRIOT 150 (09-022) - 500 GALLON ELLIPTICAL, 750 GALLON ELLIPTICAL, 700 GALLON SS - PRODUCT TANK Liquid Plumbing

Схема запчастей Case IH PATRIOT 150 - (09-022) - 500 GALLON ELLIPTICAL, 750 GALLON ELLIPTICAL, 700 GALLON SS - PRODUCT TANK Liquid Plumbing
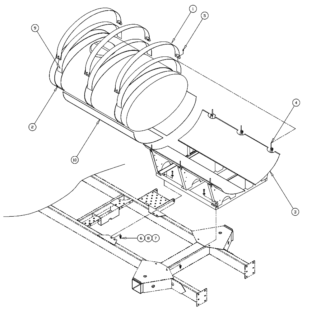
5
4
2
9
1
6
3
8
7
10
FIT
1:1
100%

Артикул

Название

Примечание

Количество

1

BN29430

STRAP

Tankband - 750 Gallon

3шт.

Shown

1шт.

1

BN29577

STRAP

Tankband - 500 Gallon

3шт.

Indicates Old Part Number Or Can Order Newer Part Number Listed Above

1шт.

1

BN29430

STRAP

Tankband - 750 Gallon

3шт.

Indicates Old Part Number Or Can Order Newer Part Number Listed Above

1шт.

2

BN69998

TANK

Rework - 750 Gallon Elliptical

1шт.

Shown

1шт.

2

BN98288

COVER

10", For 500-750 Tank

1шт.

Associated Part Of Rework - 750 Gallon Elliptical, P/N BN69998

1шт.

2

BN69999

Rework - 500 Gallon Elliptical

1шт.

Indicates Old Part Number Or Can Order Newer Part Number Listed Above

1шт.

2

BN24635

TANK

700 Gallon 304 SS

1шт.

Indicates Old Part Number Or Can Order Newer Part Number Listed Above

1шт.

3

BN29358

SKID PLATE

750 Gallon Tank

1шт.

Shown

1шт.

3

BN29498

SKID PLATE

500 Gallon Tank

1шт.

Indicates Old Part Number Or Can Order Newer Part Number Listed Above

1шт.

3

BN25775

SKID PLATE

700 Gallon SS Tank

1шт.

Indicates Old Part Number Or Can Order Newer Part Number Listed Above

1шт.

4

BN50707

BOLT

J-3/8-16 x 4.5

6шт.

5

BN50131

LOCK NUT

3/8-16, CTR, PI

6шт.

6

50283

BOLT Hex, 1/2"-13 x 1 1/4", G5, Full Thd

4шт.

7

86992215

LOCK NUT,1/2"-13, GC

4шт.

8

87529240

WASHER,0.53" ID x 1.06" OD x 0.13" Thk

0.531 x 1.062 x 0.134 HTS DOR HDN

8шт.

9

BN24121

LINER

1/8" EPDM 4" x 96"

3шт.

750 Gallon Elliptical & 700 SS Tanks Only

1шт.

10

BN24122

LINER

1/8" EPDM 36" x 66"

2шт.

750 Gallon Elliptical & 700 SS Tanks Only

1шт.

Выбрано товаров: 0