Запчасти Case IH PATRIOT 150 (02-001) - AIR CONDITIONER Cab Exterior

Схема запчастей Case IH PATRIOT 150 - (02-001) - AIR CONDITIONER Cab Exterior
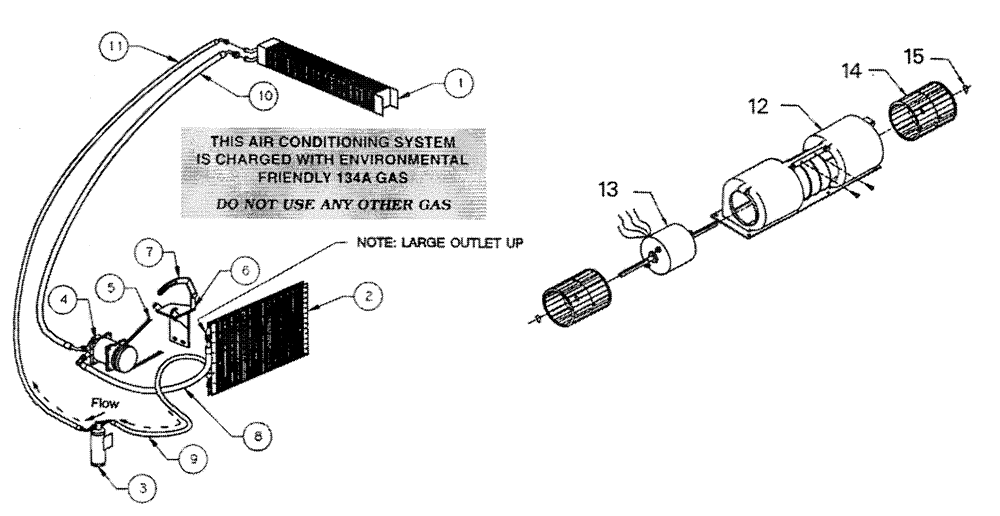
9
15
5
10
2
7
8
11
1
6
12
4
13
3
14
FIT
1:1
100%

Артикул

Название

Примечание

Количество

1

BN98106

EVAPORATOR

1шт.

2

BN98191

COIL

Condenser

1шт.

3

BN98192

RECEIVER-DRYER

1шт.

4

BN98636

COMPRESSOR

1шт.

5

BN66663

BELT

1шт.

6

BN98193

MOUNTING PLATE

1шт.

7

BN98194

BRACKET

1шт.

8

BN98637

HOSE

13/32" x 31.5"

1шт.

High Pressure

1шт.

9

BN98639

HOSE

5/16" x 28"

1шт.

High Pressure

1шт.

10

BN98641

HOSE

1/2" x 196.25"

1шт.

Low Pressure

1шт.

11

BN98642

HOSE

5/16" x 194.25"

1шт.

High Pressure

1шт.

12

BN67044

HOUSING

Blower

1шт.

13

BN98564

MOTOR

12V 5/16 Double Shaft

1шт.

14

BN98722

FAN

2шт.

15

BN98565

RETAINER

2шт.

BN67045

BLOWER

Assembly

1шт.

BN29296

Air Conditioning Package - Complete

1шт.

Not Shown

1шт.

BN33615

Air Conditioning & Heat Package - Complete

1шт.

Not Shown

1шт.

BN50934

WASHER

Neoprene & S.S. (A/C MT.)

6шт.

Not Shown

1шт.

BN66478

SHIELD

A/C Pulley

1шт.

Not Shown

1шт.

BN98808

FILTER

A/C Recirculation Filter, Not Shown

2шт.

Выбрано товаров: 29