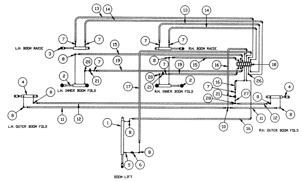
Запчасти Case IH PATRIOT 150 (06-003) - HYDRAULIC PLUMBING - BOOMS (60 & 75) Hydraulic Plumbing

Схема запчастей Case IH PATRIOT 150 - (06-003) - HYDRAULIC PLUMBING - BOOMS (60 & 75) Hydraulic Plumbing
8
2
14
21
7
12
4
16
8
8
27
3
20
16
7
15
19
8
11
10
11
16
21
19
2
7
18
12
7
8
13
6
21
28
7
17
1
20
13
4
7
8
15
8
5
14
26
7
8
FIT
1:1
100%

Артикул

Название

Примечание

Количество

1

BN55173

CYLINDER

HYD. -

1шт.

See Fig. 07-002

1шт.

Boom Height

1шт.

2

87271296

CYLINDER

Hydraulic w/Clevis (Complete)

2шт.

87271296R

REMAN-HYD CYLINDER

PATRIOT 150 (OLD CAB) (1996-1997) (2/96-6/97)

2шт.

87271296C

CORE-HYD CYLINDER

Return Number

1шт.

See Fig. 07-003

1шт.

Inner Boom Fold

1шт.

3

BN53806

CYLINDER

HYD. -

2шт.

See Fig. 07-006

1шт.

Boom Level

1шт.

4

BN51461

CYLINDER

HYD. w/Clevis (Complete)

2шт.

See Fig. 07-005

1шт.

Outer Boom Fold

1шт.

BN22705

CYLINDER

HYD.

2шт.

See Fig. 07-005

1шт.

Outer Boom Fold

1шт.

5

BN51665

FITTING

3/8"- Close

1шт.

6

BN53681

HYDRAULIC VALVE

Valve

1шт.

7

BN22158

ADAPTER,3/8" NPT X 7/16"-20, 37 Degree

7шт.

8

BN21401

ELBOW,90 Degree 3/8" NPT x 7/16"-20 JIC

8шт.

10

BN21422

TEE

7/16-20 JIC

1шт.

11

BN54167

Assembly 1/4" x 266"

2шт.

60' Boom

1шт.

BN53849

HOSE,0.25" ID x 305.00", SAE 100R1

Assembly

2шт.

75' Boom

1шт.

12

BN54171

Assembly 1/4" x 256"

2шт.

60' Boom

1шт.

BN53848

HOSE,0.25" ID x 295.00", SAE 100R1

Assembly

2шт.

75' Boom

1шт.

13

BN54175

HOSE

1/4" x 182"

2шт.

14

BN54174

HOSE

1/4" ID x 174", 100R1

2шт.

15

BN54176

HOSE

1/4" x 125"

2шт.

16

BN54177

HOSE

1/4" ID x 96", 100R1

3шт.

17

BN54178

HOSE,6.35mm ID x 1676.4mm L, SAE 100R1

1/4" x 66"

1шт.

18

86986492

HYDRAULIC VALVE

7 Bank

1шт.

See Fig. 06-015 For Seal & Repair Parts

1шт.

19

BN54148

HOSE

1/4" x 108"

2шт.

20

BN51123

ADAPTER

90º, 3/8-18 NPT

2шт.

21

BN53856

HYDRAULIC VALVE

Needle

3шт.

26

BN22160

ELBOW

90° 9/16-18 O-Ring X 7/16-20 JIC

14шт.

BN98019

O-RING

#6

14шт.

27

BN51352

BUSHING

1/4-18 x 3/8-18 NPT

1шт.

28

BN53711

TEE

1/4 NPT x 7/16-20 JIC

1шт.

Выбрано товаров: 44