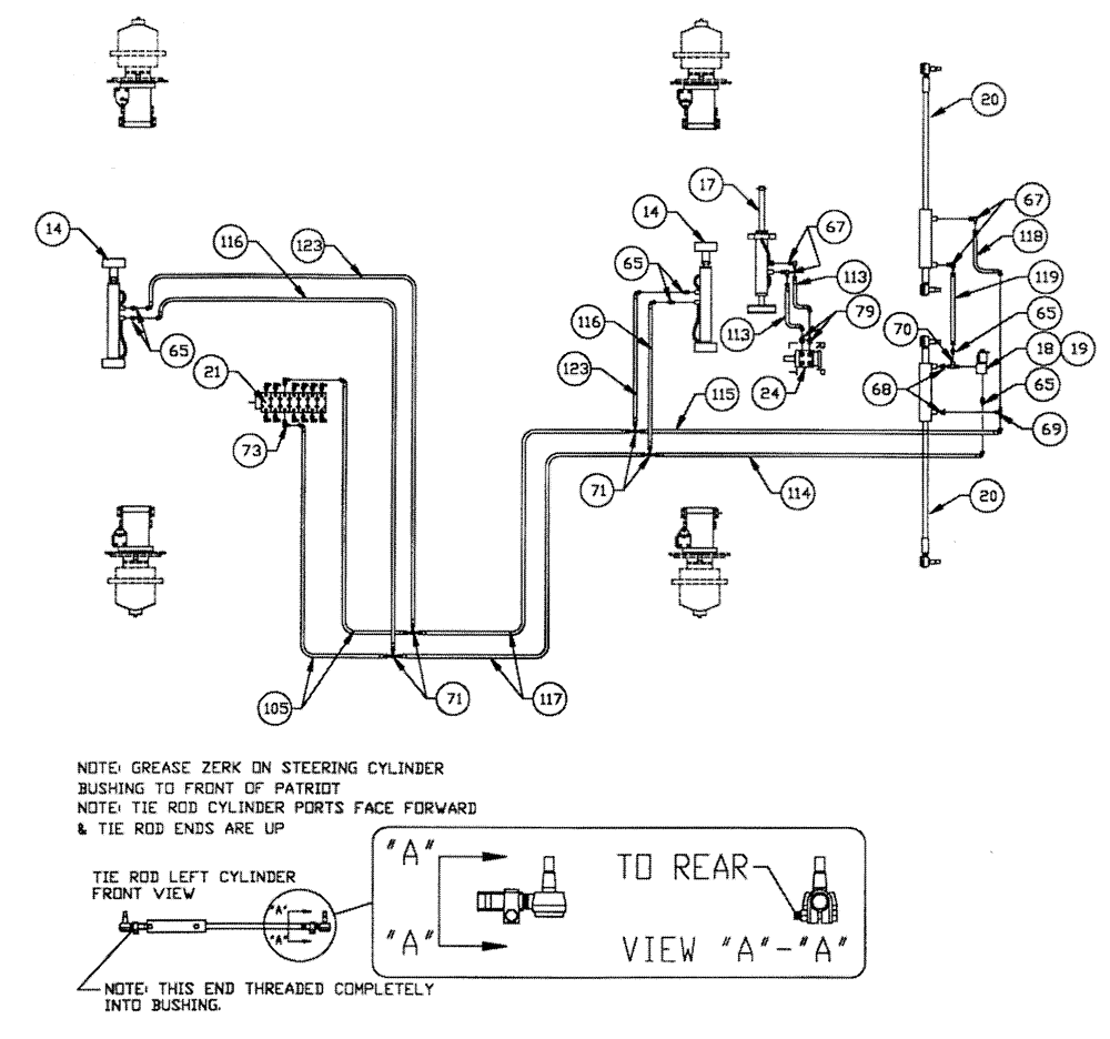
Запчасти Case IH PATRIOT 150 (06-006) - HYDRAULIC PLUMBING - STEERING Hydraulic Plumbing

Схема запчастей Case IH PATRIOT 150 - (06-006) - HYDRAULIC PLUMBING - STEERING Hydraulic Plumbing
18
24
65
70
14
123
65
67
116
67
65
21
71
114
115
118
19
68
117
69
113
116
113
105
119
20
20
79
123
73
71
14
17
65
FIT
1:1
100%

Артикул

Название

Примечание

Количество

14

NSS

NOT SOLD SEPARAT

Cylinder - Axle Adjust, 67 7/17" (Cylinder Retracted)

2шт.

Rod End Of Cylinder Must Be To Left Side Of Unit.

1шт.

See Fig. 07-001

1шт.

17

NSS

NOT SOLD SEPARAT

Cylinder - Steering

1шт.

See Fig. 07-009

1шт.

18

BN29788

CARTRIDGE

Solenoid w/Coil

1шт.

BN98231

COIL

1шт.

For BN29788

1шт.

BN98204

O-RING

BUNA-N, for BN29788

1шт.

For BN29788

1шт.

BN98205

O-RING

Top - Large

1шт.

For BN29788

1шт.

19

BN29789

BODY

1шт.

For Ref. 18

1шт.

20

BN53928

CYLINDER

HYD. - Tie Rod, Adjust For 1/4" - 1/2" Toe In

2шт.

Front Of Tires 1/4" - 1/2" Less Than Rear Of Tires At Hub Center Line With Tires Facing Ahead. Adjust Toe In From Rod (Outer) End Of Cylinder.

1шт.

See Fig. 07-010

1шт.

359775A1

END ASSY.

Tie Rod, RH 1"-16 Thread

4шт.

BN98805

COVER

Dust - Rubber

4шт.

Tie Rod End

1шт.

BN98806

JAM NUT

4шт.

Tie Rod End

1шт.

BN04851

CLAMP

Tie Rod End, With Bolt

4шт.

Tie Rod End

1шт.

21

NSS

NOT SOLD SEPARAT

7 Bank

1шт.

See Fig. 06-015 for Seals & Repair Parts

1шт.

BN25229

SHIELD

7 & 8 Bank Valve - Cover

1шт.

BN25230

MOUNTING PLATE

7 & 8 Bank Valve Cover

1шт.

24

BN29233

HYDRAULIC STEERING

Control, Orbitrol

1шт.

BN98233

SEAL KIT

for BN29233

1шт.

65

BN21355

ADAPTER,1/4"-18 NPT x 7/16-20 JIC

6шт.

67

BN21401

ELBOW,90 Degree 3/8" NPT x 7/16"-20 JIC

4шт.

68

BN51352

BUSHING

1/4-18 x 3/8-18 NPT

2шт.

69

BN53711

TEE

1/4 NPT x 7/16-20 JIC

1шт.

70

BN53712

TEE

1/4" NPT

1шт.

71

BN21422

TEE

7/16-20 JIC

4шт.

73

BN22160

ELBOW

90° 9/16-18 O-Ring X 7/16-20 JIC

14шт.

BN98019

O-RING

#6

14шт.

79

BN21249

ADAPTER,3/4" - 16 ORFS x 7/16" - 20 JIC

2шт.

BN98018

O-RING

#8

2шт.

105

BN54161

HOSE,0.25" ID x 52.00", SAE 100R1

2шт.

113

BN53814

HOSE

1/4" x 62"

2шт.

114

BN54155

HOSE,0.25" ID x 33.00", SAE 100R1

1шт.

115

BN54156

HOSE,0.25" ID x 30.00", SAE 100R1

1шт.

116

BN54157

Assembly - 1/4" x 15"

2шт.

117

BN54158

HOSE,0.25" ID x 114.00", SAE 100R1

2шт.

118

BN54169

HOSE

1/4" x 44"

1шт.

119

BN53964

HOSE

1/4" ID x 15" 100R1

1шт.

123

BN54196

HOSE

1/4" x 18"

2шт.

Выбрано товаров: 49