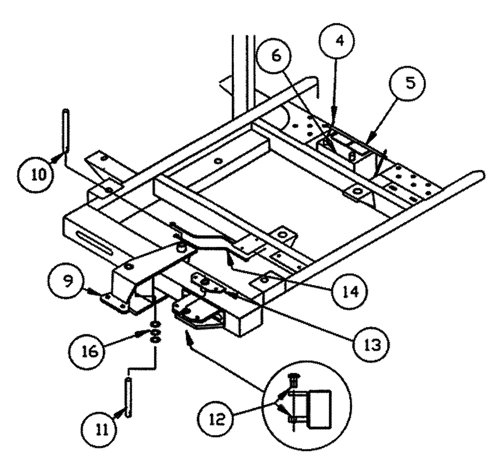
Запчасти Case IH PATRIOT 150 (04-001) - STEERING ARM & BATTERY ASSEMBLY Suspension & Frame

Схема запчастей Case IH PATRIOT 150 - (04-001) - STEERING ARM & BATTERY ASSEMBLY Suspension & Frame
11
13
9
4
5
16
12
14
6
10
FIT
1:1
100%

Артикул

Название

Примечание

Количество

4

BN7020

ROD

5/16 dia. x 11.5

2шт.

5

BN29276

ANGLE

Battery Hold Down

1шт.

6

BN57234

BATTERY

12V, 950 CCA post

1шт.

6

BN24627

Cable - Positive

1шт.

6

BN67535

Cable - Negative

1шт.

6

BN63714

Battery Rod

1шт.

7

BN66124

COVER

Battery

1шт.

Not Shown

1шт.

9

BN63772

ARM

Steering

1шт.

10

BN25516

PIN

pivot - 1.03" x 12.5"

1шт.

11

BN63780

PIN

1.03 dia. CRS x 10

1шт.

Steering Hyd. Cylinder

1шт.

12

BN63711

FLANGED BEARING,25.4mm ID x 28.57mm OD x 31.75mm L

2шт.

13

BN63790

BUSHING

1шт.

14

BN29427

Ground Cable (Frame to Cab & Engine)

2шт.

16

BN65463

WASHER

Machine Bushing - 18 GA

1шт.

16

BN65464

WASHER

Mach 14 GA.

1шт.

16

BN65465

WASHER

Machine Bushing - 10 GA

1шт.

Выбрано товаров: 18