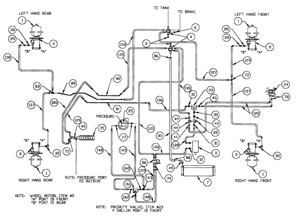
Запчасти Case IH PATRIOT II (06-001) - HYDRAULIC PLUMPING - BASIC UNIT Hydraulic Plumbing

Схема запчастей Case IH PATRIOT II - (06-001) - HYDRAULIC PLUMPING - BASIC UNIT Hydraulic Plumbing
5
31
44
29
45
7
4
63
122
31
90
2
137
29
137
85
134
32
135
126
23
127
162
162
1
28
6
78
91
2
74
66
77
35
1
79
25
42
142
2
72
24
142
160
1
32
3
31
26
43
1
22
130
28
46
133
21
86
125
126
75
159
128
2
129
136
163
161
86
89
128
FIT
1:1
100%

Артикул

Название

Примечание

Количество

1

BN66385

HUB

Planetary - Front Model #7

2шт.

BN66384

Hub - Planetary - Rear w/Integral Brake Model #7

2шт.

Not Shown

1шт.

NSS

NOT SOLD SEPARAT

2шт.

Not Shown

1шт.

BN27372

CAP

hub cover

4шт.

Not Shown

1шт.

2

BN54215

MOTOR

Wheel

4шт.

BN54215R

REMAN-HYD MOTOR

Patriot XL Sprayer, (5/1/93 to 5/1/98)

4шт.

BN54215C

CORE-HYDRAULIC PUMP

Return Number

1шт.

BN54215R

REMAN-HYD MOTOR

Patriot II

4шт.

BN54215C

CORE-HYDRAULIC PUMP

Return Number

1шт.

BN54033

O-RING,0.103" Thk x 3.987" ID, -155, Cl 5, 75 Duro

4шт.

Not Shown

1шт.

Between Hub & Wheel Motor

1шт.

BN98186

SEAL

lip, shaft

4шт.

Not Shown

1шт.

3

BN22240

CROWN NUT,1-1/16"-12 , 37 Degree

2шт.

4

BN63937

MANIFOLD

2шт.

5

BN67039

PUMP

Hydraulic Tandem CW Rotation

1шт.

BN98608

SEAL

shaft, for BN27195

1шт.

Not Shown

1шт.

BN98609

REPAIR KIT

w/Wear Plates & Seals

1шт.

Not Shown

1шт.

BN67039

PUMP

Hydraulic Tandem CW Rotation

1шт.

90' boom

1шт.

BN98608

SEAL

shaft, for BN27195

1шт.

Not Shown

1шт.

90' boom

1шт.

BN98609

REPAIR KIT

1шт.

Not Shown

1шт.

90' boom

1шт.

6

BN22431

CROWN NUT,3/4"-16, 37 Degree

1шт.

90' boom

1шт.

7

BN29339

OIL COOLER

Hyd.

1шт.

90' boom

1шт.

21

BN29345

7 Bank

1шт.

90' boom

1шт.

BN25229

SHIELD

7 & 8 Bank Valve - Cover

1шт.

Not Shown

1шт.

90' boom

1шт.

BN25230

MOUNTING PLATE

7 & 8 Bank Valve Cover

1шт.

Not Shown

1шт.

90' boom

1шт.

22

BN29234

VALVE PRESSURE RELIE,1-1/16" - 12

O-Ring Port

1шт.

90' boom

1шт.

23

BN29237

VALVE, PRESSURE RELI

EF Priority, 4.5 Gallons @ 150

1шт.

90' boom

1шт.

24

BN29233

HYDRAULIC STEERING

Control, Orbitrol

1шт.

90' boom

1шт.

BN98233

SEAL KIT

For BN29233

1шт.

Not Shown

1шт.

90' boom

1шт.

25

BN53670

HYDROSTATIC PUMP

Sprayer

1шт.

90' boom

1шт.

BN53670R

REMAN-HYDROSTAT PUMP

PATRIOT II (5/92 - 5/96), PATRIOT XL (5/93 - 5/98)

1шт.

BN53670C

CORE-HYDROSTAT PUMP

BN53670C

1шт.

26

BN29970

MANIFOLD

Solenoid & Relief Valve

1шт.

90' boom

1шт.

BN95962

KIT seal

1шт.

Not Shown

1шт.

90' boom

1шт.

BN95744

CARTRIDGE

For BN29970

1шт.

Not Shown

1шт.

90' boom

1шт.

BN95745

COIL

solenoid valve

1шт.

Not Shown

1шт.

90' boom

1шт.

BN98607

VALVE PRESSURE RELIE

For BN29970 (2000 PSI)

1шт.

Not Shown

1шт.

90' boom

1шт.

28

BN51489

FITTING

STR - 1-1/16-12 O-Ring x 3/4 NPT

2шт.

90' boom

1шт.

BN98017

O-RING

SAE-12 Buna N

2шт.

Not Shown

1шт.

90' boom

1шт.

29

BN51518

FITTING

STR - 3/4 NPT x 3/4-16 JIC

2шт.

90' boom

1шт.

31

BN444003

FITTING

Adapter Str.-1 1/16-12 O-Ring x 3/4-16 JIC

4шт.

90' boom

1шт.

BN98017

O-RING

SAE-12 Buna N

4шт.

Not Shown

1шт.

90' boom

1шт.

32

BN445006

FITTING

90° O-Ring

2шт.

90' boom

1шт.

BN98017

O-RING

SAE-12 Buna N

1шт.

Not Shown

1шт.

90' boom

1шт.

35

BN444001

FITTING

STR - 1-1/16-12 O-Ring x 1-1/16-12 JIC

1шт.

90' boom

1шт.

BN98017

O-RING

SAE-12 Buna N

1шт.

Not Shown

1шт.

90' boom

1шт.

42

BN57224

FITTING

1/16-12 O-Ring x 1-1/16-12 JIC

1шт.

90' boom

1шт.

BN98017

O-RING

SAE-12 Buna N

1шт.

Not Shown

1шт.

90' boom

1шт.

43

BN57225

FITTING

STR - 1-1/16-12 O-Ring x 9/16-18 JIC

1шт.

90' boom

1шт.

BN98017

O-RING

SAE-12 Buna N

1шт.

Not Shown

1шт.

90' boom

1шт.

44

BN446032

TEE

1-1/16-12 O-Ring x 1-1/16-12 JIC

1шт.

90' boom

1шт.

BN98017

O-RING

SAE-12 Buna N

1шт.

90' boom

1шт.

45

BN53715

REDUCER

1-1/16"-12 Female JIC x 3/4-16 Male JIC

1шт.

90' boom

1шт.

46

BN53716

FITTING

Reducer - 1-1/16-12 Female JIC x 9/16-18 Male JIC

1шт.

90' boom

1шт.

49

BN21386

FITTING

90° 1" NPT x 1"

1шт.

90' boom

1шт.

63

BN53452

TEE

3/4"-16 JIC

1шт.

90' boom

1шт.

66

BN60440

ADAPTER

STR 9/16-18 O-Ring x 3/4-16 JIC

2шт.

90' boom

1шт.

BN98019

O-RING

#6

2шт.

90' boom

1шт.

72

BN22159

TEE

3/4-16 37°

1шт.

90' boom

1шт.

74

BN444004

FITTING

4шт.

90' boom

1шт.

BN98018

O-RING

#8

4шт.

90' boom

1шт.

75

BN53707

FITTING

90° 3/4-16 JIC

2шт.

90' boom

1шт.

77

BN441006

ADAPTER

1/2 NPT-8 JIC

2шт.

90' boom

1шт.

78

BN57226

ADAPTER

3/4-16 O-Ring x 9/16-18 JIC

2шт.

90' boom

1шт.

BN98018

O-RING

#8

2шт.

90' boom

1шт.

85

BN21532

HOSE,1.00" ID x 54.00", SAE 100R3

Suction

1шт.

90' boom

1шт.

86

BN75990

HOSE CLAMP

#16, Stainless Steel

2шт.

90' boom

1шт.

89

BN65102

TUBE

steel, 1/2"

1шт.

90' boom

1шт.

90

BN66214

TUBE ASSY.

Steel, 1/2"

1шт.

90' boom

1шт.

91

BN65101

TUBE

steel, 1/2"

1шт.

90' boom

1шт.

122

BN65101

TUBE

steel, 1/2"

2шт.

90' boom

1шт.

125

BN53968

HOSE

1/2" x 20"

1шт.

90' boom

1шт.

126

BN53818

HOSE

1/2" ID x 66" 100R2

2шт.

90' boom

1шт.

127

BN54162

Hose - 1/2" x 64"

1шт.

90' boom

1шт.

128

BN54163

HOSE,0.50" ID x 28.00", SAE 100R2

2шт.

90' boom

1шт.

129

BN54164

HOSE

1/2" x 116"

1шт.

90' boom

1шт.

130

BN54235

HOSE,12.7mm ID x 2819.4mm L

1/2" x 111"

1шт.

90' boom

1шт.

133

BN54170

HOSE

1/2" x 74"

1шт.

90' boom

1шт.

134

BN54172

HOSE

1/2" ID x 90" 100R2

1шт.

90' boom

1шт.

135

BN53970

Hose - 1/2" x 12"

1шт.

90' boom

1шт.

136

BN54186

HOSE

1/2" x 30"

1шт.

90' boom

1шт.

137

BN55185

HOSE

1/2" x 77"

2шт.

90' boom

1шт.

142

BN54238

HOSE

1/2" x 42", 100R2

2шт.

90' boom

1шт.

159

BN53501

HOSE,0.50" ID x 30.00", SAE 100R2

1шт.

90' boom

1шт.

500 Gallon Tank

1шт.

BN53728

HOSE

1/2" x 56"

1шт.

Not Shown

1шт.

90' boom

1шт.

700 SS & 750 ELLSP

1шт.

BN55327

HOSE

1/2" x 26"

1шт.

Not Shown

1шт.

90' boom

1шт.

750 SPH

1шт.

160

BN55327

HOSE

1/2" x 28"

1шт.

90' boom

1шт.

500 Gallon Tank

1шт.

BN55328

Hose - 1/2" x 39"

1шт.

Not Shown

1шт.

90' boom

1шт.

700 SS

1шт.

BN55326

HOSE

1/2" x 16"

1шт.

Not Shown

1шт.

90' boom

1шт.

750 SPH

1шт.

BN55331

HOSE

1/2" x 50"

1шт.

Not Shown

1шт.

90' boom

1шт.

750 ELLSP

1шт.

161

BN65468

REGULATOR

Flow

1шт.

90' boom

1шт.

162

BN444008

FITTING

Adapter - 37° Flare 10

3шт.

90' boom

1шт.

163

BN55452

JIC 3/4-16 Male - Female

1шт.

90' boom

1шт.

Выбрано товаров: 201