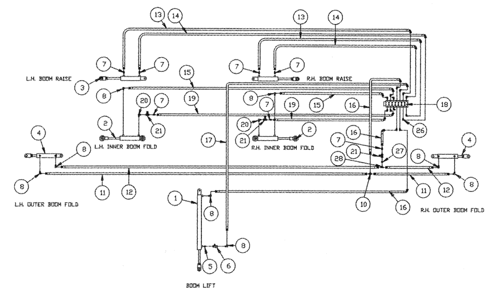
Запчасти Case IH PATRIOT II (06-002) - HYDRAULIC PLUMBING - BOOMS (60 & 75) Hydraulic Plumbing

Схема запчастей Case IH PATRIOT II - (06-002) - HYDRAULIC PLUMBING - BOOMS (60 & 75) Hydraulic Plumbing
12
2
8
7
19
21
8
16
2
21
15
20
14
15
7
10
3
4
1
4
16
6
16
8
8
11
12
28
8
7
19
5
17
13
14
26
8
13
8
7
27
11
18
8
7
21
7
20
7
FIT
1:1
100%

Артикул

Название

Примечание

Количество

1

NSS

NOT SOLD SEPARAT

Hydraulic Cylinder - Center Boom Lift

1шт.

See Fig. 07-002

1шт.

2

NSS

NOT SOLD SEPARAT

Hydraulic Cylinder - Wing Fold

2шт.

See Fig. 07-003

1шт.

3

NSS

NOT SOLD SEPARAT

Hydraulic Cylinder - Wing Lift

2шт.

See Fig. 07-006

1шт.

4

NSS

NOT SOLD SEPARAT

Hydraulic Cylinder - Outer Boom Fold

2шт.

See Fig. 07-005

1шт.

5

BN51665

FITTING

3/8" Close

1шт.

6

BN53681

HYDRAULIC VALVE

Snubber

1шт.

7

BN22158

ADAPTER,3/8" NPT X 7/16"-20, 37 Degree

7шт.

8

BN21401

ELBOW,90 Degree 3/8" NPT x 7/16"-20 JIC

8шт.

10

BN21422

TEE

7/16-20 JIC

1шт.

11

BN54167

Hose Assembly 1/4" x 266" (60' Boom)

2шт.

BN53849

HOSE,0.25" ID x 305.00", SAE 100R1

Assembly

2шт.

Not Shown

1шт.

12

BN54171

Hose Assembly 1/4" x 256" (60' Boom)

2шт.

BN53848

HOSE,0.25" ID x 295.00", SAE 100R1

Assembly

2шт.

Not Shown

1шт.

13

BN54175

HOSE

1/4" x 182"

2шт.

14

BN54174

HOSE

1/4" ID x 174", 100R1

2шт.

15

BN54176

HOSE

Assembly 1/4" x 125"

2шт.

16

BN54177

HOSE

1/4" ID x 96", 100R1

3шт.

17

BN54178

HOSE,6.35mm ID x 1676.4mm L, SAE 100R1

1/4" x 66"

1шт.

18

BN29345

Valve - 7 Bank

1шт.

BN25229

SHIELD

7 & 8 Bank Valve - Cover

1шт.

Not Shown

1шт.

BN25230

MOUNTING PLATE

7 & 8 Bank Valve Cover

1шт.

Not Shown

1шт.

19

BN54148

HOSE

1/4" x 108"

2шт.

20

BN51123

ADAPTER

90º, 3/8-18 NPT

2шт.

21

BN53856

HYDRAULIC VALVE

Needle

3шт.

26

BN22160

ELBOW

90° 9/16-18 O-Ring X 7/16-20 JIC

14шт.

BN98019

O-RING

#6

14шт.

Not Shown

1шт.

27

BN51352

BUSHING

1/4-18 x 3/8-18 NPT

1шт.

28

BN53711

TEE

1/4 NPT x 7/16-20 JIC

1шт.

Выбрано товаров: 37