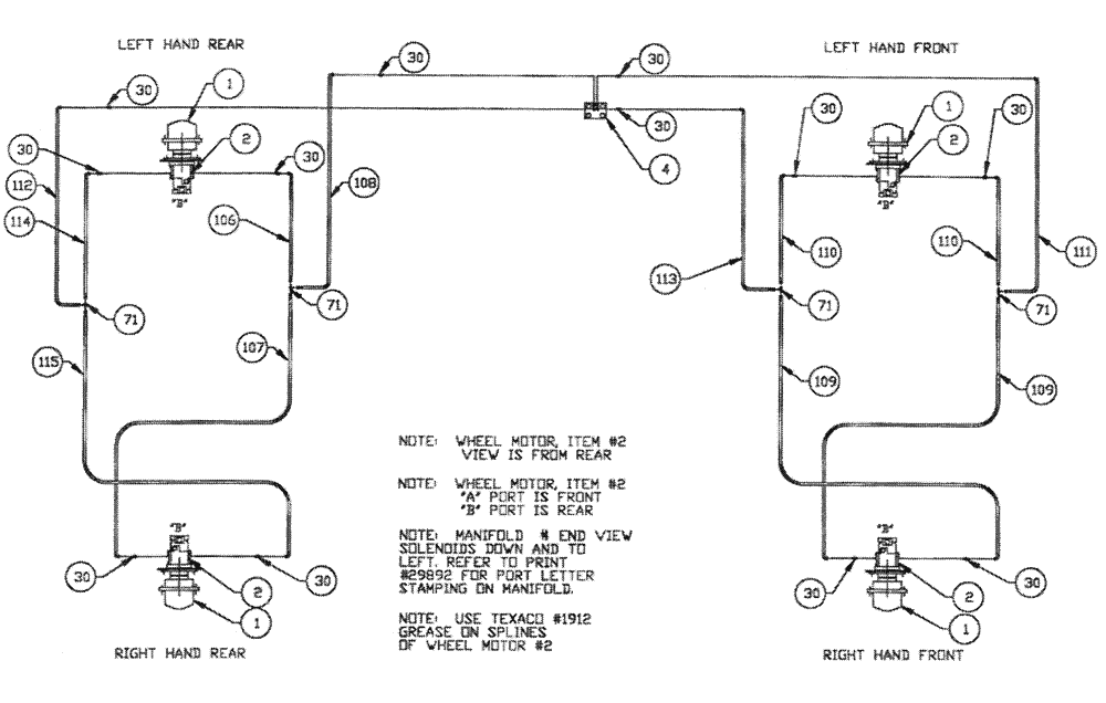
Запчасти Case IH PATRIOT II (06-009) - HYDRAULIC PLUMBING - WHEEL MOTOR POWER SHIFT Hydraulic Plumbing

Схема запчастей Case IH PATRIOT II - (06-009) - HYDRAULIC PLUMBING - WHEEL MOTOR POWER SHIFT Hydraulic Plumbing
30
30
1
113
30
1
109
71
106
111
4
112
110
30
30
30
108
30
2
109
30
1
30
71
30
30
2
107
114
71
30
2
71
2
115
110
1
FIT
1:1
100%

Артикул

Название

Примечание

Количество

1

NSS

NOT SOLD SEPARAT

Hub - Pianetary, Front Model #7

2шт.

See Fig. 04-002 For Seals & Repair Parts

1шт.

NSS

NOT SOLD SEPARAT

Hub - Planetary, Rear w/Brake Model #7

2шт.

See Fig. 04-002 For Seals & Repair Parts

1шт.

BN27372

CAP

hub cover

4шт.

2

BN54215

MOTOR

Wheel

4шт.

BN54215R

REMAN-HYD MOTOR

Patriot XL Sprayer, (5/1/93 to 5/1/98),

4шт.

BN54215C

CORE-HYDRAULIC PUMP

Return Number

1шт.

BN54215R

REMAN-HYD MOTOR

Patriot II

4шт.

BN54215C

CORE-HYDRAULIC PUMP

Return Number

1шт.

BN54033

O-RING,0.103" Thk x 3.987" ID, -155, Cl 5, 75 Duro

Between Hub & Wheel Motor

4шт.

BN98186

SEAL

lip, shaft

4шт.

4

BN54214

Valve - Manifold

1шт.

See M-A-856 For Seal & Repair Parts

1шт.

30

BN51589

FITTING

STR.-9/16-18 O-Ring x 7/16-20 JIC

12шт.

BN98019

O-RING

#6

12шт.

71

BN21422

TEE

7/16-20 JIC

4шт.

106

BN54233

HOSE

1/4" x 87"

1шт.

107

BN54232

HOSE

1/4" x 119", 100R1

1шт.

108

BN54149

HOSE,0.25" ID x 132.00", SAE 100R1

1шт.

109

BN54150

HOSE,0.25" ID x 110.00", SAE 100R1

Assembly

2шт.

110

BN54177

HOSE

1/4" ID x 96", 100R1

2шт.

111

BN54152

HOSE,0.25" ID x 42.00", SAE 100R1

Assembly

1шт.

112

BN54211

HOSE

1/4" x 132", long 90° elbow

1шт.

113

BN54212

HOSE

1 /4" x 42", long 90° elbow

1шт.

114

BN54230

HOSE

1/4" x 93"

1шт.

115

BN54217

HOSE

1/4" x 113"

1шт.

Выбрано товаров: 27