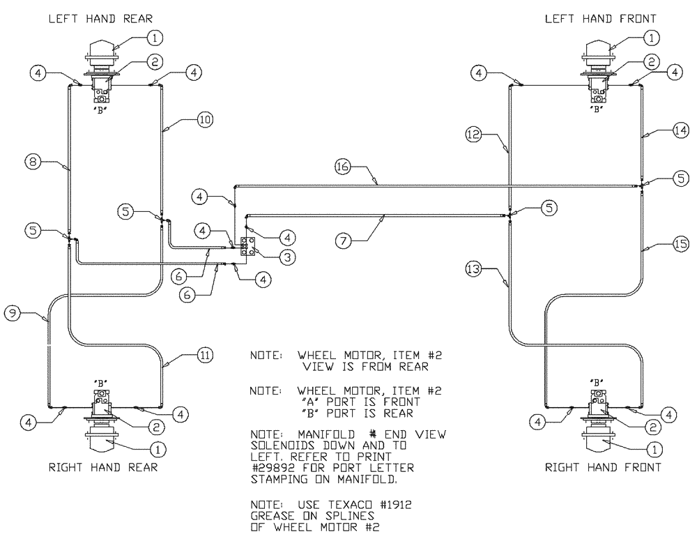
Запчасти Case IH PATRIOT NT (06-007) - WHEEL MOTORS - POWER SHIFT Hydraulic Plumbing

Схема запчастей Case IH PATRIOT NT - (06-007) - WHEEL MOTORS - POWER SHIFT Hydraulic Plumbing
4
14
4
1
15
4
4
4
16
4
4
5
1
8
3
12
4
10
7
4
2
2
11
4
5
9
1
13
4
6
5
6
2
4
1
5
2
FIT
1:1
100%

Артикул

Название

Примечание

Количество

1

NSS

NOT SOLD SEPARAT

Hub, 24:1 Rear

1шт.

See Fig. 05-001

1шт.

1

NSS

NOT SOLD SEPARAT

Hub, 19:1 Front

1шт.

Associated Part Of Hub, 24:1 Rear

1шт.

See Fig. 05-001

1шт.

2

NSS

NOT SOLD SEPARAT

Wheel Motor

4шт.

See Fig. 06-006

1шт.

3

BN69418

BLOCK

Shift

1шт.

See Fig. 06-009 for Seal & Repair Parts

1шт.

4

BN51589

FITTING

STR.-9/16-18 O-Ring x 7/16-20 JIC

12шт.

4

BN98019

O-RING

#6

12шт.

Associated Part Of Adapter, P/N BN51589

1шт.

5

BN21422

TEE

7/16-20 JIC

4шт.

6

BN55188

HOSE

1/4" X 8 1/2"

2шт.

7

BN55180

HOSE

1/4" X 126" (Long drop 90°)

1шт.

8

BN55167

HOSE

1/4" X 101"

1шт.

9

BN55166

HOSE

1/4" X 80"

1шт.

10

BN54177

HOSE

1/4" ID x 96", 100R1

1шт.

11

BN55168

HOSE

1/4" X 86"

1шт.

12

BN55169

HOSE

1/4" X 95"

1шт.

13

BN55170

HOSE

1/4" X 106"

1шт.

14

BN55164

HOSE

1/4" X 90"

1шт.

15

BN55163

HOSE

1/4" X 101"

1шт.

16

BN54253

1/4" X 126" (Short drop 90°)

1шт.

Выбрано товаров: 24