Запчасти Case IH PATRIOT NT (09-011) - RINSE TANK Liquid Plumbing

Схема запчастей Case IH PATRIOT NT - (09-011) - RINSE TANK Liquid Plumbing
5
3
4
7
6
1
2
FIT
1:1
100%

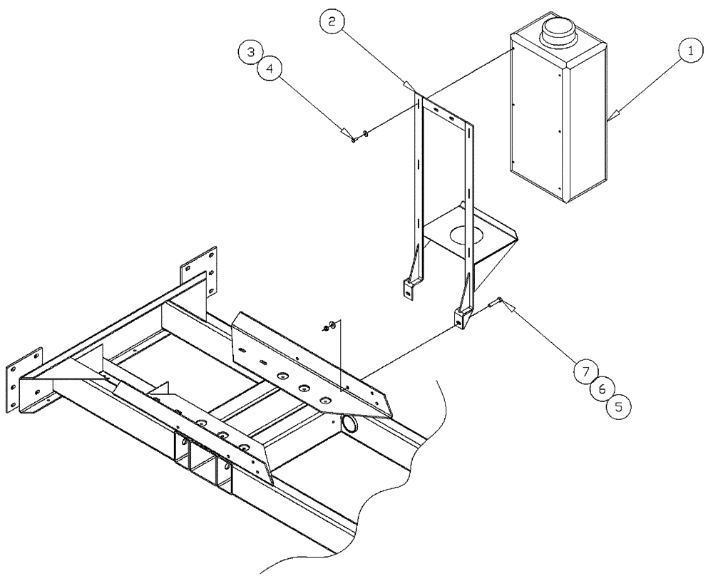
Артикул

Название

Примечание

Количество

1

BN25723

TANK

20 Gallon

1шт.

2

BN25872

MOUNTING PLATE

20 Gallon Tank

1шт.

3

BN50476

BOLT,5/16"-18 x 0.75", Stainless

6шт.

4

BN50141

WASHER

5/16, FW, G5

6шт.

5

50283

BOLT Hex, 1/2"-13 x 1 1/4", G5, Full Thd

2шт.

6

87529240

WASHER,0.53" ID x 1.06" OD x 0.13" Thk

0.531 x 1.062 x 0.134 HTS DOR HDN

2шт.

7

86992215

LOCK NUT,1/2"-13, GC

2шт.

Выбрано товаров: 7