Запчасти Case IH PATRIOT NT (04-001) - BATTERY ASSEMBLY Suspension & Frame

Схема запчастей Case IH PATRIOT NT - (04-001) - BATTERY ASSEMBLY Suspension & Frame
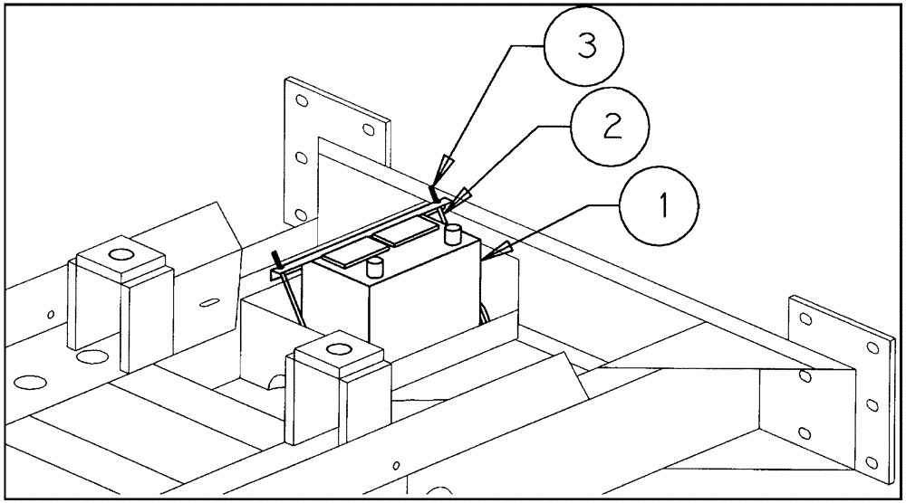
3
2
1
FIT
1:1
100%

Артикул

Название

Примечание

Количество

1

BN57227

1шт.

2

BN7020

ROD

5/16 dia. x 11.5

2шт.

3

BN29276

ANGLE

Battery Hold Down

1шт.

4

BN24541

Battery (37")

1шт.

Not Shown

1шт.

5

BN24627

Battery (46")

1шт.

Not Shown

1шт.

6

BN63714

1шт.

Not Shown

1шт.

Выбрано товаров: 9