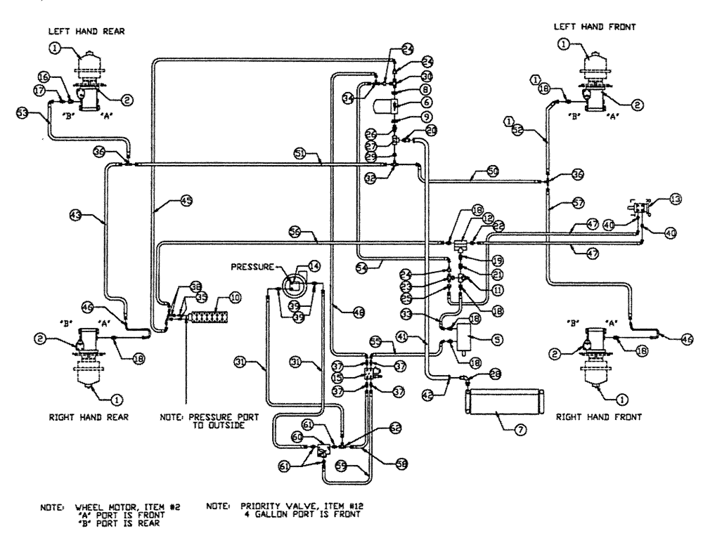
Запчасти Case IH PATRIOT NT (05-001) - HYDRAULIC PLUMBING - BASIC UNIT Hydraulic Plumbing

Схема запчастей Case IH PATRIOT NT - (05-001) - HYDRAULIC PLUMBING - BASIC UNIT Hydraulic Plumbing
57
14
52
31
18
22
9
2
35
46
18
35
24
18
13
47
18
54
42
20
46
25
27
34
17
61
2
5
19
2
45
1
46
18
43
55
35
36
37
37
1
28
40
6
53
24
10
30
47
7
11
37
50
21
24
29
2
33
38
56
61
31
56
37
23
41
59
32
62
60
15
18
40
12
16
1
18
26
1
51
8
36
FIT
1:1
100%

Артикул

Название

Примечание

Количество

1

NSS

NOT SOLD SEPARAT

Hub - Pianetary-Front Model #7

2шт.

See Fig. 04-003 for Seals & Repair Parts

1шт.

NSS

NOT SOLD SEPARAT

Hub - Planetary-Rear Model #7

2шт.

See Fig. 04-003 for Seals & Repair Parts

1шт.

BN27372

CAP

hub cover

4шт.

2

BN54215

MOTOR

Wheel

4шт.

BN54215R

REMAN-HYD MOTOR

Patriot NT Sprayer,

4шт.

BN54215C

CORE-HYDRAULIC PUMP

Return Number

1шт.

BN54033

O-RING,0.103" Thk x 3.987" ID, -155, Cl 5, 75 Duro

4шт.

Between Hub & Wheel motor

1шт.

BN98186

SEAL

lip, shaft

4шт.

5

BN67039

PUMP

Hydraulic Tandem CW Rotation

1шт.

BN98608

SEAL

shaft, for BN27195

1шт.

BN98609

REPAIR KIT

w/wear plates & seals

1шт.

6

BN27179

FILTER

Return

1шт.

BN27180

ELEMENT

1шт.

BN24374

MOUNTING PARTS

1шт.

Not Shown

1шт.

BN27363

GAUGE

Pressure - 100 PSI

1шт.

7

BN24984

OIL COOLER

Hydraulic

1шт.

8

BN51534

FITTING

1 5/8-12 O-Ring x 1 1/16-12 O-Ring

1шт.

BN98063

O-RING

#20

1шт.

9

BN51970

ADAPTER

1 5/8-12 O-Rtng x 1" NPT

1шт.

BN98063

O-RING

#20

1шт.

10

NSS

NOT SOLD SEPARAT

Valve-7 Bank

1шт.

See Fig. 05-008 for Seals & Repair Parts

1шт.

BN25631

Cover

1шт.

BN25885

Mount-Valve Cover

1шт.

11

BN29234

VALVE PRESSURE RELIE,1-1/16" - 12

O-Ring Port

1шт.

12

BN29237

VALVE, PRESSURE RELI

EF Priority, 4.5 Gallons @ 150

1шт.

13

BN29233

HYDRAULIC STEERING

Control, Orbitrol

1шт.

BN98233

SEAL KIT

for 29233

1шт.

14

NSS

NOT SOLD SEPARAT

Pump—Sprayer

1шт.

See Fig. 08-006 for Seal & Repair Parts

1шт.

15

BN29970

MANIFOLD

Solenoid & Relief Valve

1шт.

BN95962

KIT seal

1шт.

BN95744

CARTRIDGE

For 29970

1шт.

BN95745

COIL

solenoid valve

1шт.

BN98607

VALVE PRESSURE RELIE

For 22970 (2000 psi)

1шт.

16

BN51489

FITTING

STR., 1 1/16-12 0 Ring X 3/4 NPT

1шт.

BN98017

O-RING

SAE-12 Buna N

1шт.

17

BN51518

FITTING

Str.--3/4 NPT X 3/4-16 JIC

1шт.

18

BN444003

FITTING

Adapter Str.-1 1/16-12 O-Ring x 3/4-16 JIC

7шт.

BN98017

O-RING

SAE-12 Buna N

7шт.

19

BN444001

FITTING

Adapter STR. I 1/16-12 O-Ring x 1 1/16-12 JIC

1шт.

BN98017

O-RING

SAE-12 Buna N

1шт.

20

BN22432

FITTING

Barb Str 1" NPT x 1" Hose

1шт.

21

BN57224

FITTING

STR. 1 1/16-12 O-Ring X 1 1/16-12 JIC

1шт.

BN98017

O-RING

SAE-12 Buna N

1шт.

22

BN57225

FITTING

Adapter STR. 1 1 /16-12 O-Ring x 9/16-18 JIC

1шт.

BN98017

O-RING

SAE-12 Buna N

1шт.

23

BN446032

TEE

1 1/16-12 O-Ring x 1 1/16-12 JIC

1шт.

BN98017

O-RING

SAE-12 Buna N

1шт.

24

BN53715

REDUCER

1-1/16"-12 Female JIC x 3/4-16 Male JIC

3шт.

25

BN53716

FITTING

Reducer - 1 1 /16-12 Female JIC x 9/16-18 Male JIC

1шт.

26

BN51656

ADAPTER

90°, 1" NPT x 1" NPT

1шт.

27

BN51940

Tee-1" NPT

1шт.

28

BN21240

FITTING

Barb-90° 1.13 O-Ring x 1" Hose

2шт.

29

BN51499

1" Male x 1/2" Female NPT

1шт.

30

BN51536

PIPE FITTING

1 1/16-12 O-Ring x 1 1/16-12 Male JIC

1шт.

BN98017

O-RING

SAE-12 Buna N

1шт.

31

BN55165

1/2" x 77"

2шт.

32

BN21657

TEE

1/2" NPT X 3/4-16 JIC

1шт.

33

BN55146

1/2" x 187"

1шт.

34

BN53452

TEE

3/4" - 16JIC

1шт.

35

BN60440

ADAPTER

STR. 9/16-18 0 Ring x 3/4-16 JIC

2шт.

BN98019

O-RING

#6

2шт.

36

BN22159

TEE

3/4-16 37°

1шт.

37

BN444004

FITTING

4шт.

BN98018

O-RING

#8

4шт.

38

BN53707

FITTING

Eibow - 90° 3/4-16JIC

2шт.

39

BN441006

ADAPTER

1/2 NPT-8 JIC

2шт.

40

BN57226

ADAPTER

3/4-16 O-Ring x 9/16-18 JIC

2шт.

BN98018

O-RING

#8

2шт.

41

BN54181

Suction Hose, 1" ID

1шт.

42

BN75990

HOSE CLAMP

#16, Stainless Steel

2шт.

43

BN55145

1/2" X 81"

1шт.

45

BN55184

1/2" X 93"

1шт.

46

BN29157

TUBE

Steel - 1/2"

2шт.

47

BN55200

HOSE

3/8" X 62"

2шт.

48

BN55150

HOSE

1/2" X 73"

1шт.

50

BN55186

1/2" X 142"

1шт.

51

BN54183

HOSE,0.50" ID x 34.00", SAE 100R2

1шт.

52

BN55187

HOSE

1/2" X 86"

1шт.

53

BN55185

HOSE

1/2" X 97"

1шт.

54

BN55148

1/2" X 220"

1шт.

55

BN55149

"1/2H X 36"

1шт.

56

BN53529

1/2" X 124"

1шт.

57

BN54255

1/2" X 97W

1шт.

58

BN55329

HOSE

1/2M X 20"

1шт.

59

BN55330

HOSE

1/2" X 32"

1шт.

60

BN65468

REGULATOR

Flow Regulator

1шт.

61

BN444008

FITTING

Adapter - O-Ring 37° Flare 10

3шт.

62

BN53452

TEE

JIC 3/4"-16 Male-Female

1шт.

Выбрано товаров: 94