Запчасти Case IH PATRIOT NT (05-002) - HYDRAULIC PLUMBING - BOOMS-7 BANK VALVE Hydraulic Plumbing

Схема запчастей Case IH PATRIOT NT - (05-002) - HYDRAULIC PLUMBING - BOOMS-7 BANK VALVE Hydraulic Plumbing
2
15
8
3
4
26
8
14
20
2
21
21
8
8
8
1
4
12
6
8
8
10
8
12
11
11
7
15
7
16
15
12
7
18
29
20
19
7
28
14
27
7
15
16
5
21
7
17
7
FIT
1:1
100%

Артикул

Название

Примечание

Количество

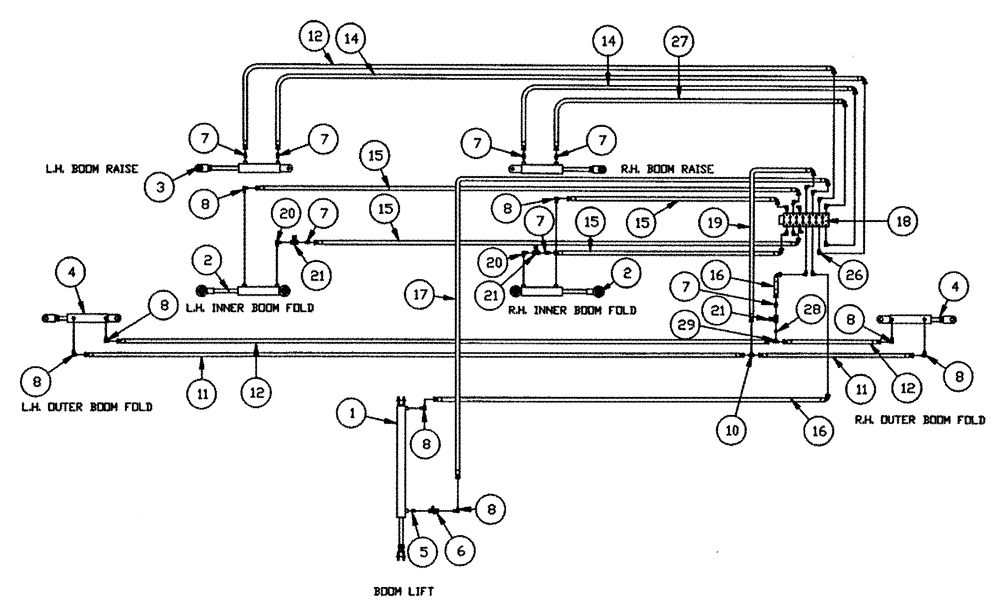
1

NSS

NOT SOLD SEPARAT

HYD. Cylinder - CTR Boom Lift

1шт.

See Fig. 06-003

1шт.

2

NSS

NOT SOLD SEPARAT

HYD. Cylinder - Wing Fold

2шт.

See Fig. 06-004

1шт.

3

NSS

NOT SOLD SEPARAT

HYD. Cylinder - Wing Lift

2шт.

See Fig. 06-006

1шт.

4

NSS

NOT SOLD SEPARAT

HYD. Cylinder - Outer Boom Fold

2шт.

See Fig. 06-005

1шт.

5

BN51665

FITTING

3/8" Close

1шт.

6

BN53681

HYDRAULIC VALVE

Snubber

1шт.

7

BN22158

ADAPTER,3/8" NPT X 7/16"-20, 37 Degree

7шт.

8

BN21401

ELBOW,90 Degree 3/8" NPT x 7/16"-20 JIC

8шт.

10

BN21422

TEE

7/16-20 JIC

1шт.

11

BN55179

HOSE

1/4" X 228"

2шт.

12

BN55178

HOSE

1/4" X 224"

3шт.

14

BN68498

HOSE

1/4" X 220"

2шт.

15

BN68496

HOSE

1/4" X 172"

4шт.

18

BN68493

HOSE

1/4" x 170"

2шт.

17

BN68499

NUT

LH thread, fuel fitting

1шт.

18

NSS

NOT SOLD SEPARAT

Valve - 7 Bank

1шт.

See Fig. 05-008 for Seals & Repair Parts

1шт.

BN25631

Valve Cover

1шт.

BN25885

Mount-Valve Cover

2шт.

19

BN68495

HOSE

1/4" X 154"

1шт.

20

BN51123

ADAPTER

90º, 3/8-18 NPT

2шт.

21

BN53856

HYDRAULIC VALVE

Needle

3шт.

26

BN22160

ELBOW

90° 9/16-18 O-Ring X 7/16-20 JIC

14шт.

BN98019

O-RING

#6

14шт.

27

BN68497

hose - 1/4" X 218"

1шт.

28

BN51352

BUSHING

1/4-18 x 3/8-18 NPT

1шт.

29

BN53711

TEE

1/4 NPT x 7/16-20 JIC

1шт.

Выбрано товаров: 31