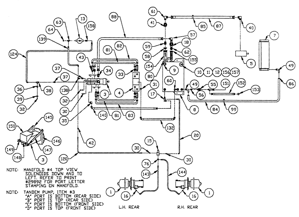
Запчасти Case IH PATRIOT NT (05-003) - HYDRAULIC PLUMBING - HYDROSTATIC PUMP (7 BANK VALVE) Hydraulic Plumbing

Схема запчастей Case IH PATRIOT NT - (05-003) - HYDRAULIC PLUMBING - HYDROSTATIC PUMP (7 BANK VALVE) Hydraulic Plumbing
144
148
57
140
158
31
76
30
84
59
146
61
32
4
145
41
1
20
152
16
85
120
64
16
153
17
37
13
11
39
30
149
88
82
1
150
3
83
139
63
157
37
33
42
138
56
10
86
43
12
155
87
81
154
49
7
60
3
36
151
62
38
124
99
49
30
18
147
55
132
80
34
81
8
32
9
143
15
156
58
35
5
40
FIT
1:1
100%

Артикул

Название

Примечание

Количество

1

NSS

NOT SOLD SEPARAT

Hub, W/lntegral Brake Model #7

2шт.

BN27372

CAP

hub cover

2шт.

3

BN29007

Pump-Tandem Hydrostatic

1шт.

BN98230

SEAL KIT

1шт.

BN98358

O-RING

(Auxiliary Pump Pad)

1шт.

BN98605

COVER

Servo (Front)

2шт.

BN98606

COVER

Servo w/Port (Rear)

2шт.

BN52039

Servo Cover

20шт.

BN98514

GASKET

Servo Cover

4шт.

BN98596

O-RING KIT

Kit - (Shifter Control & Spool Assembly)

1шт.

BN65528

REPAIR KIT

Main Relief

4шт.

BN65530

O-RING

Main Relief

4шт.

BN65532

REPAIR KIT

Charge Relief

1шт.

BN65534

O-RING

Charge Relief

1шт.

BN65537

REPAIR KIT

Shim Charge Relief

1шт.

4

NSS

NOT SOLD SEPARAT

Valve - Manifold

1шт.

See Fig. 02-006 for Seals & Repair Parts

1шт.

5

BN67039

PUMP

Hydraulic Tandem CW Rotation

1шт.

BN98608

SEAL

shaft, for BN27195

1шт.

BN98609

REPAIR KIT

W/Wear Plates and Seals

1шт.

7

BN24984

OIL COOLER

Hydraulic

1шт.

8

BN63957

HYD. Oil

1шт.

BN52319

PLUG

Magnetic 1/2" NPT

1шт.

9

BN60479

PLUG

15/16-12, o-ring hex

1шт.

BN98016

O-RING

SAE-16 Buna N

1шт.

10

BN42073

BREATHER

HYD. Tank

1шт.

BN98290

VENT

Filter Element

1шт.

BN72165

COUPLING

1/2" NPT

1шт.

BN25255

Hose Vent - 3/4" x 30"

1шт.

BN75798

Clamp #12

1шт.

11

BN73768

NOZZLE

Cap - 3"

1шт.

12

BN73788

NIPPLE, LUBE

NIPPLE 3" poly pipe short

1шт.

13

BN29338A

Filter, Hydrostatic Pump

1шт.

N14232

FILTER

Element, Spin On

1шт.

BN98626

INDICATOR

W/Hardware

1шт.

15

BN29955

SOLENOID

Valve, Brake Actuator

1шт.

BN98420

SEAL KIT

for BN29955

1шт.

BN98421

CARTRIDGE

for BN29955

1шт.

BN98422

COIL

solenoid valve

1шт.

BN98423

VALVE BODY

for BN29955

1шт.

16

BN444005

FITTING

STR. - 7/16-20 O-Ring X 7/16-20 JIC

2шт.

BN98094

O-RING

#4

2шт.

17

BN27361

Manifold

1шт.

18

BN2008

Gate Valve - 1 1/4 NPT

1шт.

20

BN55158

1/4 X 45"

1шт.

30

BN51589

FITTING

STR.-9/16-18 O-Ring x 7/16-20 JIC

4шт.

BN98019

O-RING

#6

4шт.

31

BN444003

FITTING

Adapter Str.-1 1/16-12 O-Ring x 3/4-16 JIC

1шт.

BN98017

O-RING

SAE-12 Buna N

1шт.

32

BN21531

NUT,7/16"-20, 37 Degree

3шт.

33

BN57223

FITTING

STR 1-5/16 12 O-Ring x 1-7/16 12 Male Flat Face

4шт.

BN53730

O-RING,0.07" Thk x 0.926" ID, -21, Cl 6, 90 Duro

Flat face

4шт.

BN98016

O-RING

SAE-16 Buna N

4шт.

34

BN52040

ADAPTER

Fitting, OR x JIC 1-5/8-12

1шт.

BN98063

O-RING

#20

1шт.

35

BN445001

FITTING

Adapter, 90°1 1/16-12 O Ring x 1 1/16-12 JIC

1шт.

BN98017

O-RING

SAE-12 Buna N

1шт.

36

BN53715

REDUCER

1-1/16"-12 JIC F. x 3/4-18 JIC M.

1шт.

37

BN444007

O-RING

37 Flare 12-10

2шт.

BN98062

O-RING

#10

2шт.

38

BN53573

TEE

1 1/16"-12 JIC

1шт.

39

BN53714

FITTING

Reducer - 3/4-16 JIC F x 7/16-20 JIC M

1шт.

40

BN52037

ADAPTER

90º OR 37 FL20-24

1шт.

BN98018

O-RING

#16

1шт.

41

BN51497

HYDRAULIC VALVE

Gate -1 1/2 NPT

1шт.

42

BN21355

ADAPTER,1/4"-18 NPT x 7/16-20 JIC

1шт.

43

BN53918

ADAPTER

flat face x Or x 4.1

4шт.

BN53730

O-RING,0.07" Thk x 0.926" ID, -21, Cl 6, 90 Duro

Flat face

4шт.

BN98016

O-RING

SAE-16 Buna N

4шт.

49

BN21386

FITTING

Barb - 90° 1" NPT X 1" Hose

2шт.

55

BN21372

VALVE

Gate, 1" NPT

1шт.

56

BN51656

ADAPTER

Nipple, 1" NPT (Close)

1шт.

57

BN52318

ADAPTER

90° 1 1/4" NPT X 1 5/8" - 12 JIC

1шт.

58

BN72471

BUSHING

2" x 1 1/2"

1шт.

59

BN52034

1 1/2" NPT

1шт.

60

BN61572

FITTING

Elbow - 90° 3/4" NPT x 3/4"-1 6 JIC

1шт.

61

BN52036

FITTING

Adapter, 1 1/2" NPT X 1 7/8"-12 JIC

1шт.

62

BN51952

COUPLING

male, 1-1/4"

1шт.

63

BN51536

PIPE FITTING

1 1/16" O-Ring x 1 1/16"-12 JIC

1шт.

BN98017

O-RING

SAE-12 Buna N

1шт.

64

BN22240

CROWN NUT,1-1/16"-12 , 37 Degree

1шт.

76

BN21866

TEE,9/16"-18 O-Ring x 7/16:-20, 37 Degree

1шт.

BN98019

O-RING

#6

1шт.

80

BN21365

BULB

Sight Gauge

2шт.

Not Shown

1шт.

81

BN53919

HOSE

1" Hyd

2шт.

82

BN53920

HOSE

1" Hyd

1шт.

83

BN53921

HOSE

1" Hyd

1шт.

84

BN54180

Suction Hose - 1" ID

1шт.

85

BN52035

CLAMP

2" Dia., Vinyl Coated

1шт.

86

BN75990

HOSE CLAMP

#16, Stainless Steel

2шт.

87

BN52038

HOSE

1 1/2 X 58"

1шт.

88

BN52041

HOSE

1 1/4" X 35"

1шт.

99

BN570018

CLAMP

vinyl coated 1-7/16

1шт.

120

BN55159

1/4" X 18"

1шт.

124

BN53579

3/4" X 36"

1шт.

132

BN53528

SLEEVE,12.7mm ID x 1828.8mm L, SAE 100R2

1/2" X 44"

1шт.

138

BN63548

ELBOW

90° 1-1/16-12 JIC

1шт.

139

BN55190

HOSE

3/4" X 18"

1шт.

140

BN55191

3/4" X 71"

1шт.

143

BN55152

HOSE

1/4" X 125"

1шт.

144

BN55151

1/4" X 124"

1шт.

145

BN24180

Angle - LH

1шт.

146

BN24181

RH

1шт.

147

BN25717

SUPPORT

Brace

2шт.

86505993

BOLT,Hex, 1/2" - 13 x 4", Gr 5

2шт.

148

BN25725

ANGLE

3/16 1.5 x 1.5 x 13

1шт.

149

BN53802

WASHER

Beveled, 1/2"

4шт.

BN50072

NUT

Hex, 1/2"-13, G5, Std

2шт.

86992215

LOCK NUT,1/2"-13, GC

2шт.

150

BN24295

SHIELD

1шт.

151

BN53809

ELBOW

Adaptor, 90° 1" NPT x 1 1/16-12 JIC

1шт.

152

BN54199

HOSE,0.75" ID x 30.00", SAE 100R1

1шт.

153

BN22240

CROWN NUT,1-1/16"-12 , 37 Degree

1шт.

154

BN25877

FILTER STRAINER

In-Line 50 GPM 100 Mesh

1шт.

155

BN24148

FILTER STRAINER

25 gpm, 100 Mesh

1шт.

156

BN25255

Hose Vent - 3/4" x 30" (Bottom of Tank)

1шт.

157

BN75978

HOSE CLAMP

SS-#12 ADJ. HS .56-1.25

1шт.

158

BN444001

FITTING

Adaptor - 1 1/16-12 O-Ring x 1 1/16-12 JIC

1шт.

BN98017

O-RING

SAE-12 Buna N

1шт.

Выбрано товаров: 120