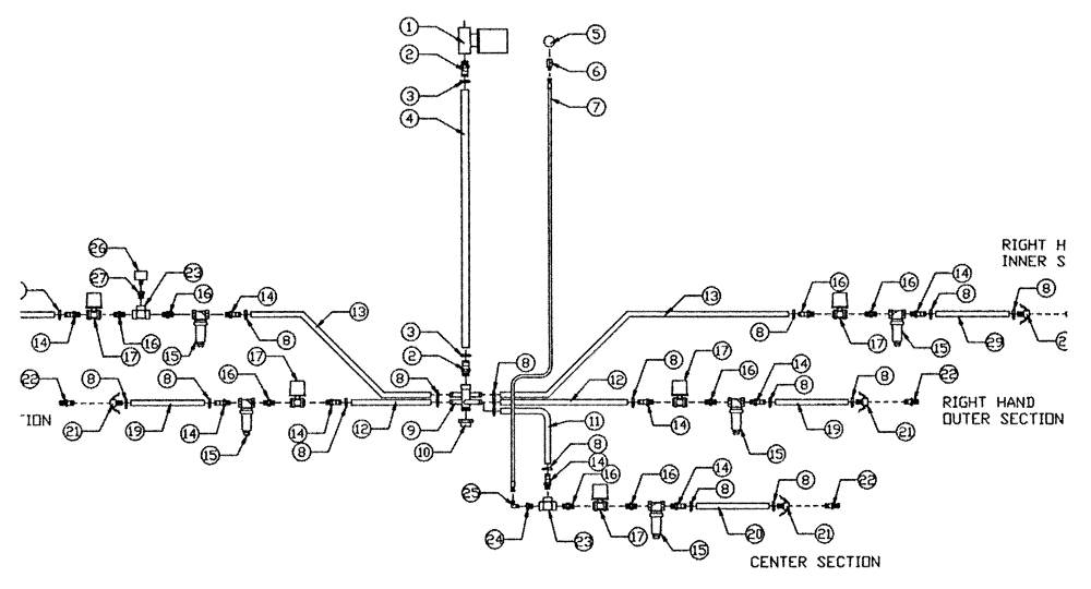
Запчасти Case IH PATRIOT NT (08-004) - LIQUID PLUMBING BOOM Liquid Plumbing

Схема запчастей Case IH PATRIOT NT - (08-004) - LIQUID PLUMBING BOOM Liquid Plumbing
17
19
8
24
16
21
15
11
12
8
4
23
19
22
13
14
14
5
16
2
17
17
21
14
25
21
16
14
14
2
8
16
8
27
8
8
8
26
16
8
14
8
14
22
15
15
16
15
7
16
22
8
3
1
29
17
8
9
23
16
14
14
13
8
12
10
8
3
17
20
6
15
8
8
FIT
1:1
100%

Артикул

Название

Примечание

Количество

1

BN98127

HYDRAULIC VALVE

1" Bundle - Liquid System

1шт.

2

BN29871

Barb - 1" NPT x 1 1/4" Hose

2шт.

3

BN76084

HOSE CLAMP

Adj. #24, SS

2шт.

4

BN53917

1 1/4" x 96"

1шт.

5

BN98104

ELECTRICAL GAUGE

160 PSI Panel Mount

1шт.

6

BN53733

ADAPTER

1 /4" NPT x 9/16" JIC

1шт.

7

BN25893

HOSE

3/8" x 300" EPDM

1шт.

8

BN75990

HOSE CLAMP

#16, Stainless Steel

20шт.

9

BN24776

MANIFOLD

5-Way 1.5" Outlet

1шт.

10

BN73731

PLUG,1-1/2" Male NPT, Poly

1 1/2" Poly Pipe

1шт.

11

BN53756

HOSE,42.00"

1шт.

12

BN53911

1" X 228"

2шт.

13

BN53910

1" X 168"

2шт.

14

BN53476

FITTING,1" Male NPT x 1" Hose Barb, Poly

1" NPT x 1" Hose Barb, Poly

10шт.

15

BN73681

FILTER STRAINER

Line Strainer

5шт.

15a

BN73679

FILTER STRAINER

SCREEN, 50 MESH

1шт.

15b

84222934

SCREEN,80 Mesh Screen

80 MESH

1шт.

16

BN73648

NIPPLE

1" Short Poly Pipe

7шт.

17

BN53495

VALVE

Ball

5шт.

BN24083

MOUNTING PLATE

7 GA HRS 3.0 x 5.75/2

5шт.

18

BN53912

HOSE

1" ID EPDM x 38"

2шт.

19

BN53913

HOSE

1" X 88"

2шт.

20

BN53743

FLEXIBLE HOSE,1.00" ID x 33.00"

1шт.

21

BN53668

COUPLING

1" Female, HS SHK

5шт.

22

BN53667

COUPLING

Male 1"

5шт.

23

BN73629

TEE

1" Poly Pipe

2шт.

24

BN2390261

REDUCER

Bushing - 1" x 1 /4"

1шт.

25

BN53734

ELBOW

90° 1/4" NPT x 9/16" JIC

1шт.

26

BN98078

SENSOR

Pressure Transducer

1шт.

27

BN53665

BUSHING

1" x .75 Poly

1шт.

Выбрано товаров: 30