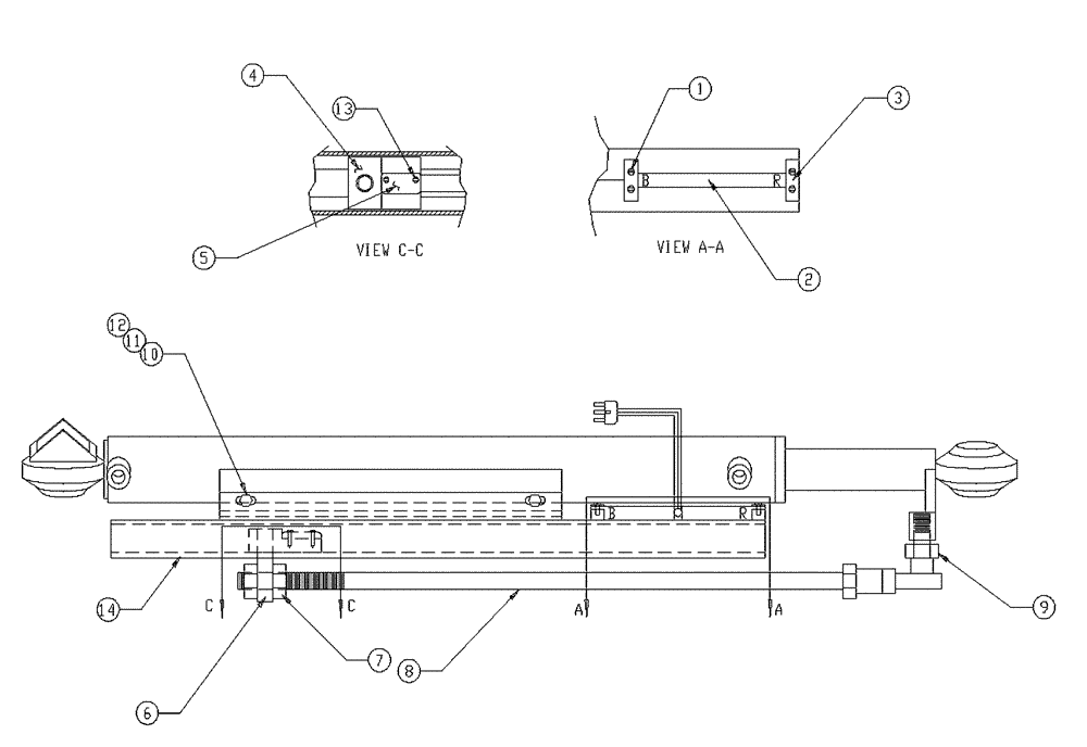
Запчасти Case IH PATRIOT WT (07-005) - HYDRAULIC CYLINDER SWITCH MOUNTING - SELF CENTERING (90 BOOM) Cylinders

Схема запчастей Case IH PATRIOT WT - (07-005) - HYDRAULIC CYLINDER SWITCH MOUNTING - SELF CENTERING (90 BOOM) Cylinders
6
9
12
7
1
3
13
14
8
11
4
2
5
10
FIT
1:1
100%

Артикул

Название

Примечание

Количество

1

BN67419

BOLT,Slot Hd, #8 - 32 x 0.38"

8-32 x .38 Slot Head

4шт.

2

BN315230

SWITCH

Proximity Autocenter

1шт.

3

BN67416

PLATE

Tab Switch Mount

2шт.

4

BN66995

ACTUATOR

Slide Block

1шт.

5

BN66993

ACTUATOR

Magnetic

1шт.

6

BN67001

ROD,5/8" - 18

Rod Eye .625

1шт.

7

BN50083

NUT

5/8-18 Hex

4шт.

8

BN67262

THREADED ROD

5/8"-18

1шт.

9

BN67261

BALL JOINT,5/8" -18 x 2-1/2"

Rod Eye .625

1шт.

10

BN50054

NUT,1/4"-20, SS

4шт.

11

BN50671

BOLT,1/4"-20 x 1.00", Stainless Steel

4шт.

12

BN50140

LOCK WASHER

Spring, 1/4", SS

4шт.

13

BN67421

SCREW,#6 x 3/4"

#6 x .56 Type AB

2шт.

14

BN67417

TUBE

Weldment Switch

1шт.

Выбрано товаров: 14