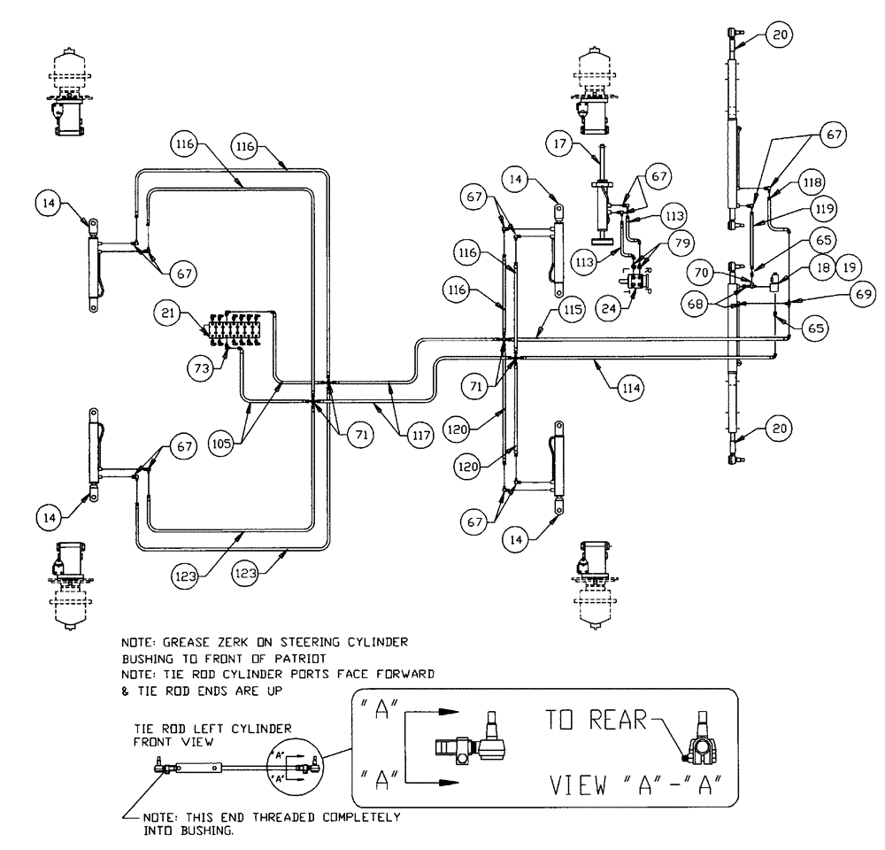
Запчасти Case IH PATRIOT WT (06-003) - HYDRAULIC PLUMBING - STEERING 7-BANK VALVE Hydraulic Plumbing

Схема запчастей Case IH PATRIOT WT - (06-003) - HYDRAULIC PLUMBING - STEERING 7-BANK VALVE Hydraulic Plumbing
67
71
24
65
105
17
14
116
116
71
115
120
19
67
113
123
113
116
68
123
70
79
20
116
65
67
14
67
14
14
119
118
120
67
117
20
18
67
73
21
114
69
FIT
1:1
100%

Артикул

Название

Примечание

Количество

14

NSS

NOT SOLD SEPARAT

Hydraulic Cylinder - Axle Adjust

4шт.

See Fig. 07-001

1шт.

17

NSS

NOT SOLD SEPARAT

Hydraulic Cylinder - Steering

1шт.

See Fig. 07-009

1шт.

18

BN29788

CARTRIDGE

Solenoid Valve w/Coil

1шт.

18a

BN98231

COIL

1шт.

Service Part of Ref. 18

1шт.

18b

BN98204

O-RING

BUNA-N, for BN29788

1шт.

Service Part of Ref. 18

1шт.

18c

BN98205

O-RING

Top - Large

1шт.

Service Part of Ref. 18

1шт.

19

BN29789

BODY

Valve (for Solenoid Valve w/Coil)

1шт.

20

NSS

NOT SOLD SEPARAT

Hydraulic - Tie Rod

2шт.

Adjust for 1/4" - 1/2" toe in (Front of tires 1/4"-1 12" less than rear of tires at hub center line-with tire facing ahead) Adjust toe in from rod (outer) end of cylinder

1шт.

Tie rod end clamps must be installed as shown (with bolts to bottom and nuts to rear of Patriot). After adjusting toe in, both tie rod ends on each cylinder must be in alignment to avoid binding

1шт.

See Fig. 07-010

1шт.

20a

359775A1

END ASSY.

Tie Rod, RH 1"-16 Thread

4шт.

Associated Part of Hyd Cylinder - Tie Rod, P/N 53963

1шт.

20b

BN04851

CLAMP

Tie Rod End, With Bolt

4шт.

Associated Part of Hyd Cylinder - Tie Rod, P/N 53963

1шт.

21

BN29345

7 Bank

1шт.

See Fig. 06-008 for Seals & Repair Parts

1шт.

21a

BN25229

SHIELD

7 & 8 Bank Valve - Cover

1шт.

Service Part of Ref. 21

1шт.

21b

BN25230

MOUNTING PLATE

7 & 8 Bank Valve Cover

1шт.

Service Part of Ref. 21

1шт.

24

NSS

NOT SOLD SEPARAT

Orbitrol - Steering Control

1шт.

See Fig. 01-003

1шт.

24a

BN98233

SEAL KIT

for Orbitrol - Steering Control

1шт.

Service Part of Ref. 24

1шт.

65

BN21355

ADAPTER,1/4"-18 NPT x 7/16-20 JIC

2шт.

67

BN21401

ELBOW,90 Degree 3/8" NPT x 7/16"-20 JIC

12шт.

68

BN51352

BUSHING

1/4-18 x 3/8-18 NPT

2шт.

69

BN53711

TEE

1/4 NPT x 7/16-20 JIC

1шт.

70

BN53712

TEE

1/4" NPT

1шт.

71

BN54043

ADAPTER

Cross - 7/16-20 JIC

4шт.

73

BN22160

ELBOW

90° 9/16-18 O-Ring X 7/16-20 JIC

14шт.

73a

BN98019

O-RING

#6

14шт.

Associated Part of Adapter - 90° 9/16-18 O-Ring x 7/16-20 JIC, P/N 22160

1шт.

79

BN21249

ADAPTER,3/4" - 16 ORFS x 7/16" - 20 JIC

2шт.

79a

BN98018

O-RING

#8

2шт.

Associated Part of Adapter - 3/4-16 O-Ring x 7/16-20 JIC, P/N 21249

1шт.

105

BN54161

HOSE,0.25" ID x 52.00", SAE 100R1

2шт.

113

BN53814

HOSE

1/4" x 62"

2шт.

114

BN54155

HOSE,0.25" ID x 33.00", SAE 100R1

Assembly

1шт.

115

BN54156

HOSE,0.25" ID x 30.00", SAE 100R1

1шт.

116

BN54185

HOSE

1/4" ID x 64" 100 R1

4шт.

117

BN54158

HOSE,0.25" ID x 114.00", SAE 100R1

2шт.

118

BN54159

HOSE,0.25" ID x 28.00", SAE 100R1

Assembly

1шт.

119

BN53964

HOSE

1/4" ID x 15" 100R1

1шт.

120

BN53605

HOSE

1/4" x 46"

2шт.

123

BN55112

HOSE ASSY.

1/4" x 32"

2шт.

Выбрано товаров: 52