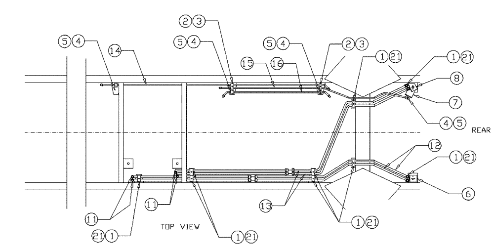
Запчасти Case IH PATRIOT WT (06-013) - STEEL HYDRAULIC TUBES AND CLAMPS Hydraulic Plumbing

Схема запчастей Case IH PATRIOT WT - (06-013) - STEEL HYDRAULIC TUBES AND CLAMPS Hydraulic Plumbing
2
8
15
21
21
16
1
1
1
6
21
13
7
3
1
11
4
1
3
2
5
21
14
21
4
5
4
21
11
4
5
5
1
12
FIT
1:1
100%

Артикул

Название

Примечание

Количество

1

BN29778

CLAMP

Dual (3/4" Tube)

9шт.

2

BN29779

CLAMP

Dual, 1/2" Tube

3шт.

3

BN29781

COVER

Plate, Dual 1/2"

2шт.

4

BN29783

CLAMP

Single, 1/2" Tube

4шт.

5

BN29785

PLATE

Cover, Single, 1/2" Tube

4шт.

6

BN29769

BRACKET

Mount, 7GA HRS 3 x 7.25

1шт.

7

BN29771

MOUNTING PARTS

7 ga HRS 3 x 10.25

1шт.

8

BN29770

MOUNTING PARTS

7 ga HRS 3.75 x 7.5

1шт.

11

BN24931

TUBE

steel, 3/4" front

4шт.

12

BN24932

TUBE

steel, 3/4" LH, rear

2шт.

13

BN24933

TUBE

steel, 3/4" RH, rear

2шт.

14

BN65101

TUBE

steel, 1/2"

1шт.

15

BN65102

TUBE

steel, 1/2"

1шт.

16

BN66214

TUBE ASSY.

Steel, 1/2"

1шт.

21

BN63861

COVER

Plate, Dual 3/4" Clamp

9шт.

Выбрано товаров: 15