Запчасти Case IH PATRIOT WT (11-002) - CROP GUARD Options

Схема запчастей Case IH PATRIOT WT - (11-002) - CROP GUARD Options
6
1
2
4
5
3
7
FIT
1:1
100%

Артикул

Название

Примечание

Количество

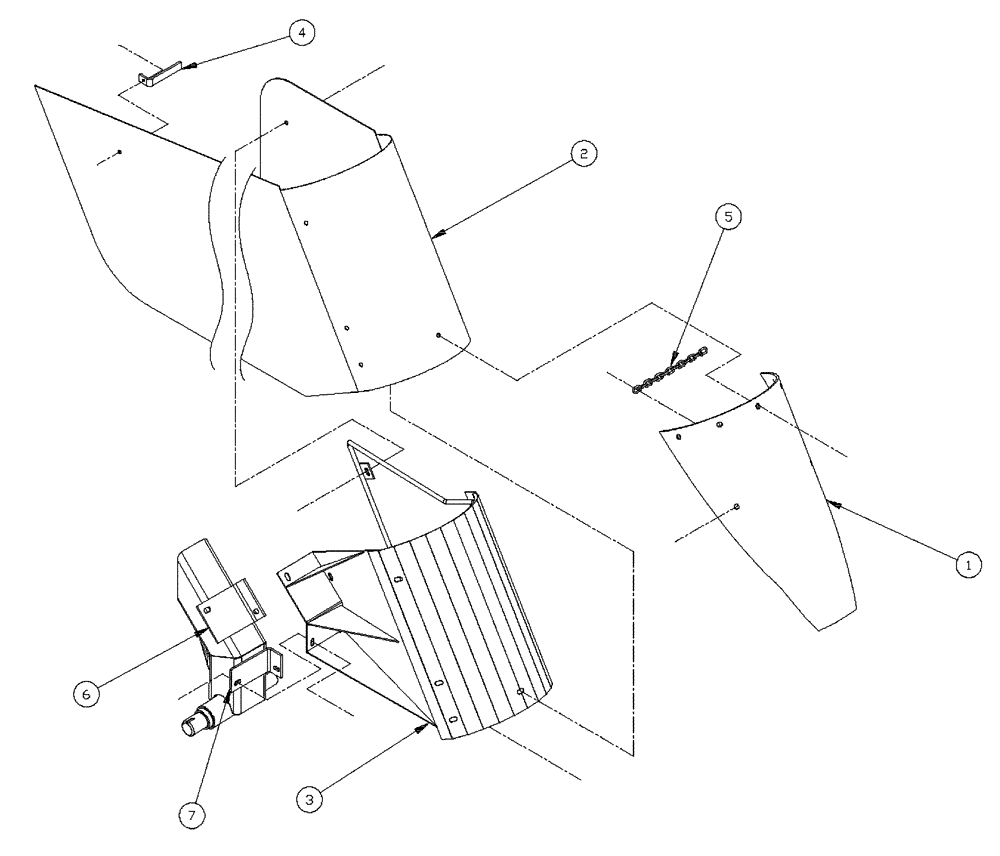
1

BN65826

GUARD

Crop LH

2шт.

Shown

1шт.

1a

BN65827

GUARD

Crop RH

2шт.

2

BN65831

SHIELD

plastic

4шт.

3

BN65820

GUARD

Crop - LH Upper

2шт.

Shown

1шт.

3a

BN65821

GUARD

Crop - RH Upper

2шт.

Opposite side

1шт.

4

BN65816

MOUNTING PLATE

guard

4шт.

5

BN65847

CHAIN

tension

4шт.

6

BN63728

MOUNTING PLATE

1/4 HRS 5.0 x 8.25

2шт.

7

BN63730

MOUNTING PLATE

1/4 HRS 3.25 x 8.25

2шт.

Выбрано товаров: 12