Запчасти Case IH PATRIOT WT (05-005) - HYDRAULIC PLUMBING - STEERING Hydraulic Plumbing

Схема запчастей Case IH PATRIOT WT - (05-005) - HYDRAULIC PLUMBING - STEERING Hydraulic Plumbing
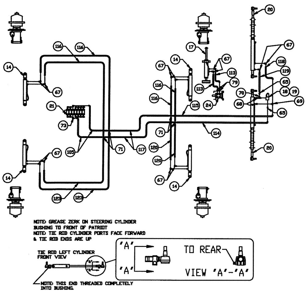
116
120
71
14
113
65
69
68
116
118
65
17
113
19
116
67
20
20
70
123
67
117
14
18
21
67
79
67
123
115
73
71
116
105
14
114
120
119
67
67
24
FIT
1:1
100%

Артикул

Название

Примечание

Количество

14

87271293

CYLINDER

Hydraulic, Axle Adjust With Adaptor

4шт.

See Fig. 06-001

1шт.

17

BN63710

CYLINDER

Hydraulic

1шт.

See Fig. 06-009

1шт.

18

BN29788

CARTRIDGE

Solenoid w/Coil

1шт.

BN98231

COIL

(For 29788)

1шт.

BN98204

O-RING

BUNA-N, for BN29788

1шт.

BN98205

O-RING

Top - Large (For 29788)

1шт.

19

BN29789

BODY

(For #18)

1шт.

20

87271298

CYLINDER

Hydraulic - Tie Rod

2шт.

Tie Rod Cylinder - Adjust For 1/4" - 1/2" Toe In. (Front of Tires 1/4" - 1/2" Less Than Rear of Tires At Hub Center Line - With Tire Facing Ahead) Adjust Toe In From Rod (Outer) End of Cylinder

1шт.

359775A1

END ASSY.

Tie Rod, RH 1"-16 Thread

4шт.

BN04851

CLAMP

Tie Rod End, With Bolt

4шт.

21

BN29345

7 Bank

1шт.

BN25229

SHIELD

7 & 8 Bank Valve - Cover

1шт.

BN25230

MOUNTING PLATE

7 & 8 Bank Valve Cover

1шт.

24

BN29233

HYDRAULIC STEERING

Control, Orbitrol

1шт.

BN98233

SEAL KIT

For BN29233

1шт.

65

BN21355

ADAPTER,1/4"-18 NPT x 7/16-20 JIC

2шт.

67

BN21401

ELBOW,90 Degree 3/8" NPT x 7/16"-20 JIC

12шт.

68

BN51352

BUSHING

1/4-18 x 3/8-18 NPT

2шт.

69

BN53711

TEE

1/4 NPT x 7/16-20 JIC

1шт.

70

BN53712

TEE

1/4" NPT

1шт.

71

BN54043

ADAPTER

Cross - 7/16-20 JIC

4шт.

73

BN22160

ELBOW

90° 9/16-18 O-Ring X 7/16-20 JIC

14шт.

BN98019

O-RING

#6

14шт.

79

BN21249

ADAPTER,3/4" - 16 ORFS x 7/16" - 20 JIC

2шт.

BN98018

O-RING

#8

2шт.

105

BN54161

HOSE,0.25" ID x 52.00", SAE 100R1

2шт.

113

BN53814

HOSE

1/4" x 62"

2шт.

114

BN54155

HOSE,0.25" ID x 33.00", SAE 100R1

Assembly

1шт.

115

BN54156

HOSE,0.25" ID x 30.00", SAE 100R1

1шт.

116

BN54185

HOSE

1/4" ID x 64" 100 R1

4шт.

117

BN54158

HOSE,0.25" ID x 114.00", SAE 100R1

2шт.

118

BN54159

HOSE,0.25" ID x 28.00", SAE 100R1

Assembly

1шт.

119

BN53964

HOSE

1/4" ID x 15" 100R1

1шт.

120

BN53605

HOSE

Assembly 1/4" x 46"

2шт.

123

BN55112

HOSE ASSY.

1/4" x 32"

2шт.

Выбрано товаров: 38