Запчасти Case IH PATRIOT XL (03-002) - ENGINE MOUNTS (01) - ENGINE

Схема запчастей Case IH PATRIOT XL - (03-002) - ENGINE MOUNTS (01) - ENGINE
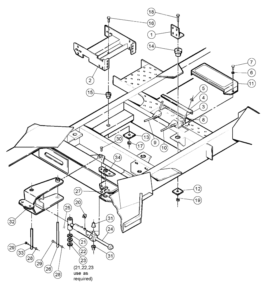
23
2
14
34
22
28
31
20
30
3
18
25
12
4
24
26
17
16
19
11
8
9
5
33
15
29
13
27
28
1
32
21
29
10
7
6
31
FIT
1:1
100%

Артикул

Название

Примечание

Количество

1

BN29207

Angle-1/2"X 3.5 X 5.0 X 4

2шт.

2

NSS

NOT SOLD SEPARAT

Mount-Motor & Radiator

1шт.

See Fig. 04-004

1шт.

3

BN7020

ROD

5/16 dia. x 11.5

2шт.

4

BN29276

ANGLE

Battery Hold Down

1шт.

5

BN50057

LOCK NUT,Lock, 5/16"-18, Stainless Steel

2шт.

6

BN50141

WASHER

5/16, FW, G5

2шт.

7

BN50476

BOLT,5/16"-18 x 0.75", Stainless

2шт.

8

BN57227

12V 700 CCA Post

1шт.

9

BN66120

NEG BATTERY CABLE

Assembly (-)

1шт.

10

BN66121

CABLE

Assembly (+)

1шт.

11

BN66124

COVER

Assembly Battery Cover

1шт.

BN29977

PLATFORM

Safety Walk - Flextread, 6" x 16"

1шт.

Service Parts For Ref. 11

1шт.

BN67240

SEAL

Clip On

1шт.

Service Parts For Ref. 11

1шт.

12

BN63818

WASHER,20.57mm ID x 69.85mm OD x 4.76mm Thk

7 GA 304 .81 x 2.75

2шт.

13

BN316870

WASHER

2.25 x 0.52 x 7 GA, 304 SS

1шт.

14

BN29242

ISOLATOR

Rubber 3/4" Bore

2шт.

15

BN29243

ISOLATOR

Rubber 1/2" Bore

1шт.

16

87339

BOLT,Hex, 1/2" - 13 x 3", Gr 5

1шт.

17

86992215

LOCK NUT,1/2"-13, GC

1шт.

18

BN50839

BOLT

3/4-10 X 4, HH, 5, PL

2шт.

19

BN50969

NUT

3/4-10, NLN, G5

2шт.

20

BN21401

ELBOW,90 Degree 3/8" NPT x 7/16"-20 JIC

2шт.

21

BN65463

WASHER

Machine Bushing - 18 GA

2шт.

22

BN65464

WASHER

Machine -14 GA

2шт.

23

BN65465

WASHER

Machine Bushing - 10 GA

2шт.

24

NSS

NOT SOLD SEPARAT

HYD. Cylinder, Steering Patriot

1шт.

See Fig. 07-010

1шт.

25

BN10465

NIPPLE, LUBE,1/4"-28 st

NIPPLE

1шт.

26

BN25516

PIN

pivot - 1.03" x 12.5"

1шт.

27

BN50072

NUT

Hex, 1/2"-13, G5, PL

2шт.

28

BN50131

LOCK NUT

3/8-16, CTR, PL

2шт.

29

BN50269

BOLT

3/8-16 X 2.25, HH, 5, PL

2шт.

30

BN50894

BOLT

1/2"-13 x 2.5, HH, 5, PL

2шт.

31

BN63711

FLANGED BEARING,25.4mm ID x 28.57mm OD x 31.75mm L

Flange-Plastic 1"

2шт.

32

BN63772

ARM

Steering

1шт.

8" FRM

1шт.

33

BN63780

PIN

1.03 dia. CRS x 10

1шт.

34

BN63790

BUSHING

1шт.

Выбрано товаров: 41