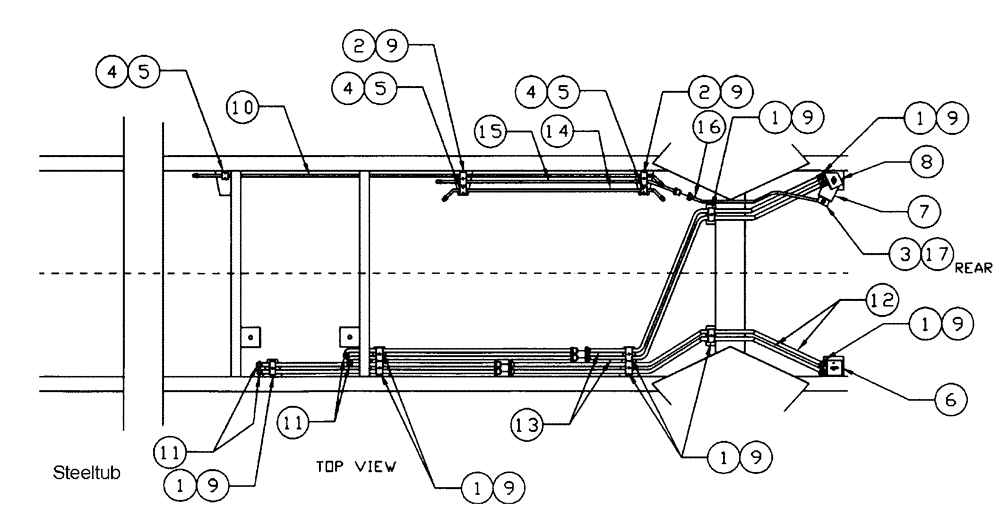
Запчасти Case IH PATRIOT XL (06-012) - STEEL HYDRAULIC TUBES & CLAMPS Hydraulic Plumbing

Схема запчастей Case IH PATRIOT XL - (06-012) - STEEL HYDRAULIC TUBES & CLAMPS Hydraulic Plumbing
1
1
14
9
1
2
2
11
15
1
17
4
1
9
9
9
3
11
6
16
1
10
9
12
9
9
5
9
5
5
4
7
13
4
8
FIT
1:1
100%

Артикул

Название

Примечание

Количество

1

BN29778

CLAMP

Dual (3/4" Tube)

9шт.

2

BN67651

CLAMP

Dual, 1/2" x 3/4" Tube

2шт.

3

BN29784

COVER

Plate, Single, 3/4" Tube

1шт.

4

BN29783

CLAMP

Single, 1/2" Tube

3шт.

5

BN29785

PLATE

Cover, Single, 1/2" Tube

3шт.

6

BN29769

BRACKET

Mount, 7GA HRS 3 x 7.25

1шт.

7

BN29771

MOUNTING PARTS

7 ga HRS 3 x 10.25

1шт.

8

BN29770

MOUNTING PARTS

7 ga HRS 3.75 x 7.5

1шт.

9

BN63861

COVER

Plate, Dual 3/4" Clamp

11шт.

10

BN66212

TUBE ASSY.

steel, 1/2" OD

1шт.

11

BN66211

TUBE

Steel-3/4"-Front

4шт.

12

BN24932

TUBE

steel, 3/4" LH, rear

2шт.

13

BN24933

TUBE

steel, 3/4" RH, rear

2шт.

14

BN66214

TUBE ASSY.

Steel, 1/2"

1шт.

15

BN67650

HYD TUBE

Steel, 3/4", 2350 PSI, Front

1шт.

16

BN67649

HYD TUBE

Steel, 3/4", 2350 PSI, Rear

1шт.

17

BN29782

CLAMP

Single (3/4" Tube)

1шт.

Выбрано товаров: 17