Запчасти Case IH PATRIOT XL (09-009) - 750 GALLON ELIPTICAL-SPARGE Liquid Plumbing

Схема запчастей Case IH PATRIOT XL - (09-009) - 750 GALLON ELIPTICAL-SPARGE Liquid Plumbing
16
12
5
14
9
12
7
5
13
4
4
8
17
10
18
1
13
10
6
3
5
11
5
15
14
2
11
10
FIT
1:1
100%

Артикул

Название

Примечание

Количество

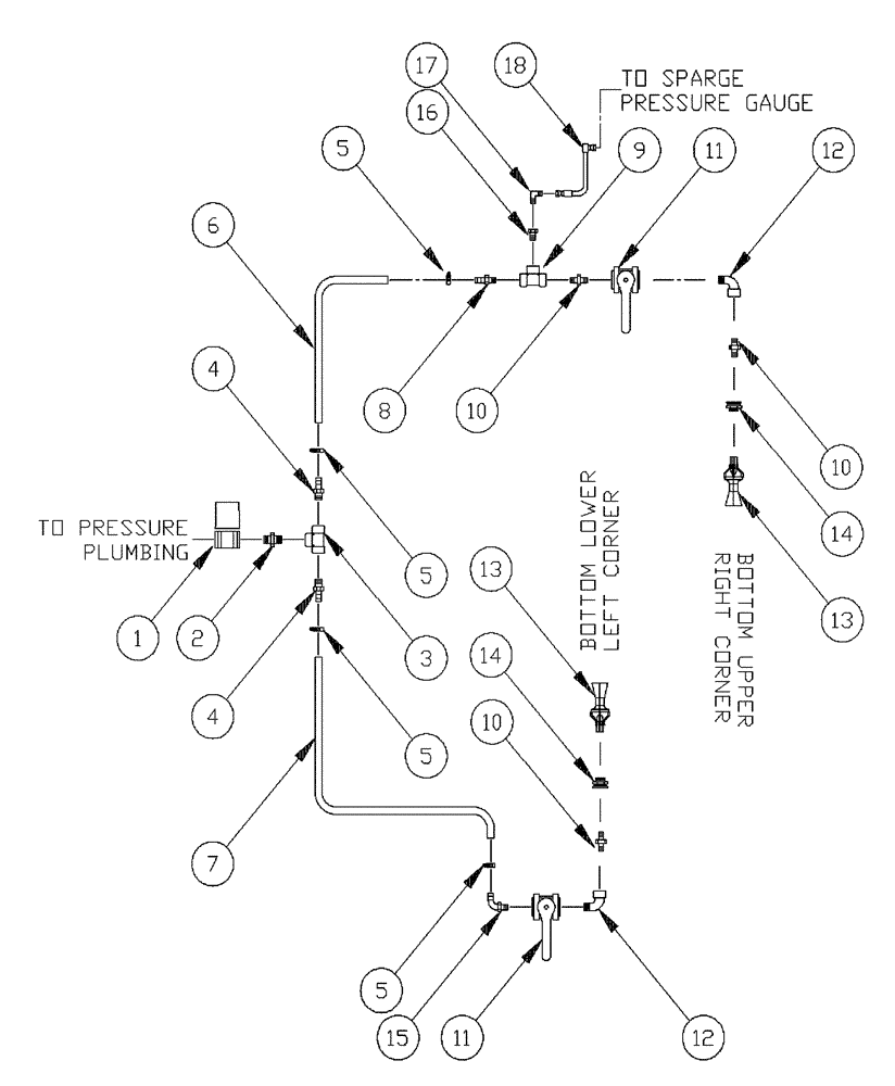
1

87546542

HYDRAULIC VALVE

Electric 1"

1шт.

2

BN73648

NIPPLE

1" Short Poly Pipe

1шт.

3

BN73629

TEE

1" Poly Pipe

1шт.

4

BN53666

FITTING

Hosebarb-1 NPT X 3/4 Hose

2шт.

5

BN75978

HOSE CLAMP

SS-#12 ADJ. HS .56-1.25

4шт.

r

BN53740

HOSE,0.75" ID x 57.00"

EPDM

1шт.

7

BN53783

HOSE

EPDM, 3/4" ID X 39"

1шт.

8

BN73561

FITTING

Barb, 3/4 NPTX 3/4 HS

1шт.

9

BN73560

TEE

3/4" NPT, Poly

1шт.

10

BN73565

NIPPLE,3/4" Male NPT x 3/4" Male NPT, Poly

3/4" Short Pipe, Poly

1шт.

11

BN73564

VALVE

3/4" Ball Poly 2 Way

2шт.

12

BN73566

ELBOW,3/4" Male NPT x 3/4" Female NPT, Poly

90, Street, 3/4" Poly

2шт.

13

BN53671

AGITATOR

2шт.

14

BN73563

BULKHEAD

2шт.

15

BN73562

FITTING,3/4" Male Thread x 3/4" 90 Degree Hose Barb

3/4" NPT x 3/4" Hose Barb, 90°

1шт.

16

BN73550

BUSHING

Reducer, 3/4" MPT x 1/4" FPT, Poly

1шт.

17

BN53734

ELBOW

Fitting, 90° 1/4" NPT x 9/16" JIC

1шт.

18

BN67392

HOSE

3/8" x 144" EPDM

1шт.

Выбрано товаров: 18