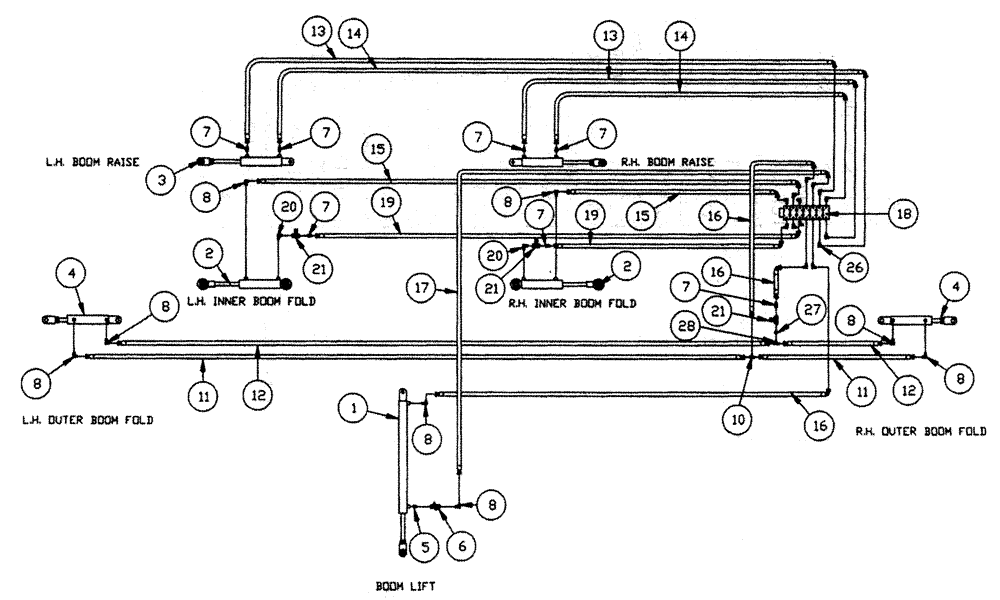
Запчасти Case IH TYLER (05-002) - HYDRAULIC PLUMBING (60 & 75) BOOMS - TYLER SPRAYER, 7-BANK VALVE Hydraulic Plumbing

Схема запчастей Case IH TYLER - (05-002) - HYDRAULIC PLUMBING (60 & 75) BOOMS - TYLER SPRAYER, 7-BANK VALVE Hydraulic Plumbing
7
13
13
27
8
1
19
21
21
8
2
14
8
16
2
8
15
12
15
21
7
4
14
11
8
26
7
8
16
6
7
12
20
5
11
17
7
4
8
3
8
7
20
16
28
18
19
7
10
FIT
1:1
100%

Артикул

Название

Примечание

Количество

1

BN68813

Hyd. - Boom Height

1шт.

See Fig. 06-002

1шт.

2

NSS

NOT SOLD SEPARAT

Hyd. - Inner Boom Fold

2шт.

See Fig. 06-003

1шт.

3

NSS

NOT SOLD SEPARAT

Hyd. - Boom Level

2шт.

See Fig. 06-006

1шт.

4

NSS

NOT SOLD SEPARAT

Hyd. - Outer Boom Fold

2шт.

See Fig. 06-005

1шт.

5

BN51665

FITTING

3/8" Close

1шт.

6

BN53681

HYDRAULIC VALVE

1шт.

7

BN22158

ADAPTER,3/8" NPT X 7/16"-20, 37 Degree

7шт.

8

BN21401

ELBOW,90 Degree 3/8" NPT x 7/16"-20 JIC

8шт.

10

BN21422

TEE

7/16-20 JIC

1шт.

11

BN54167

Hose Assembly 1/4" x 266"

2шт.

60' Boom

1шт.

BN53849

HOSE,0.25" ID x 305.00", SAE 100R1

2шт.

75' Boom

1шт.

12

BN54171

1/4" x 256"

2шт.

60' Boom

1шт.

BN53848

HOSE,0.25" ID x 295.00", SAE 100R1

2шт.

75' Boom

1шт.

13

BN54175

HOSE

1/4" x 182"

2шт.

14

BN54174

HOSE

1/4" ID x 174", 100R1

2шт.

15

BN54176

HOSE

1/4" x 125"

2шт.

16

BN54177

HOSE

1/4" ID x 96", 100R1

3шт.

17

BN54178

HOSE,6.35mm ID x 1676.4mm L, SAE 100R1

1/4" x 66"

1шт.

18

NSS

NOT SOLD SEPARAT

Valve-7

1шт.

See Fig. 06-022 for Seals & Repair Parts

1шт.

19

BN54148

HOSE

1/4"x 108"

2шт.

20

BN51123

ADAPTER

90º, 3/8-18 NPT

2шт.

21

BN53856

HYDRAULIC VALVE

Needle

3шт.

26

BN22160

ELBOW

90° 9/16-18 O-Ring X 7/16-20 JIC

14шт.

BN98019

O-RING

#6

14шт.

27

BN51352

BUSHING

1/4-18 x 3/8-18 NPT

1шт.

28

BN53711

TEE

1/4 NPT x 7/16-20 JIC

1шт.

Выбрано товаров: 0