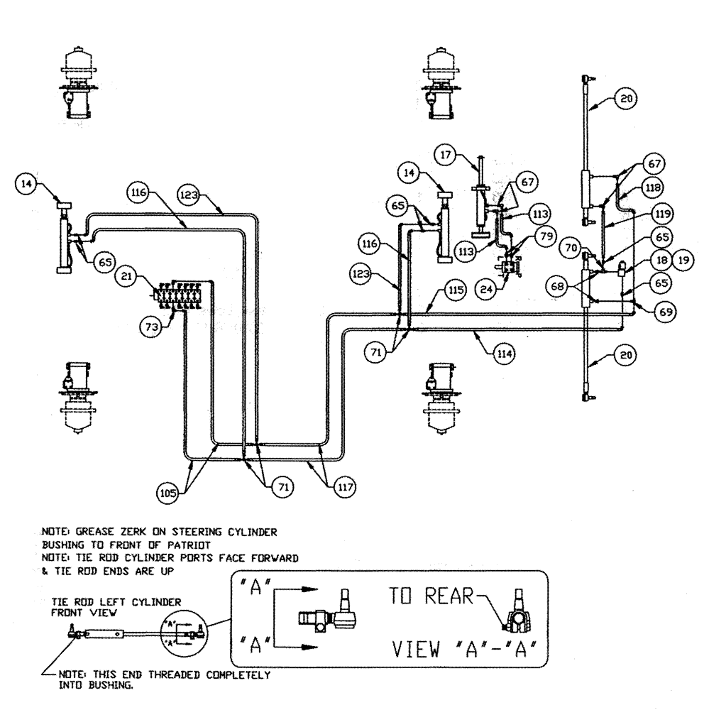
Запчасти Case IH TYLER (05-006) - HYDRAULIC PLUMBING - STEERING TYLER SPRAYER, 7-BANK VALVE Hydraulic Plumbing

Схема запчастей Case IH TYLER - (05-006) - HYDRAULIC PLUMBING - STEERING TYLER SPRAYER, 7-BANK VALVE Hydraulic Plumbing
19
71
71
65
65
17
65
18
113
73
14
20
114
115
65
79
116
119
105
21
113
123
67
116
67
70
20
123
69
14
68
117
118
24
FIT
1:1
100%

Артикул

Название

Примечание

Количество

14

NSS

NOT SOLD SEPARAT

Hyd., Axle Adjust

2шт.

Hydraulic cylinder dimension settings center of pin hole to center of pin hole.

1шт.

Axle adjust cylinder - 67-7/16" (Cylinder retracted) - Rod end of cylinder must be to left side of unit.

1шт.

See Fig. 06-001

1шт.

17

BN63710

CYLINDER

Hydraulic (Complete)

1шт.

18

BN29788

CARTRIDGE

Solenoid w/Coil

1шт.

BN98231

COIL

(For 29788)

1шт.

BN98204

O-RING

BUNA-N, for BN29788

1шт.

BN98205

O-RING

Top-Large (For 29788)

1шт.

19

BN29789

BODY

Valve (for#18)

1шт.

20

NSS

NOT SOLD SEPARAT

Hyd.-Tie Rod

2шт.

Hydraulic cylinder dimension settings center of pin hole to center of pin hole.

1шт.

Tie rod cylinder - adjust for 1/4" - 1/2" toe in (Front of tires 1/4" - 1/2" less than rear of tires at hub center line-with tire facing ahead.) Adjust toe in from rod (outer) end of cylinder.

1шт.

See Fig. 06-010

1шт.

359775A1

END ASSY.

Tie Rod, RH 1"-16 Thread

4шт.

Tie rod end clamps must be installed as shown with bolts to bottom and nuts to rear of Patriot. After adjusting toe in, both tie rod ends on each cylinder must be in alignment to avoid binding.

1шт.

BN98805

COVER

Dust - Rubber (Tie Rod End)

4шт.

Tie rod end clamps must be installed as shown with bolts to bottom and nuts to rear of Patriot. After adjusting toe in, both tie rod ends on each cylinder must be in alignment to avoid binding.

1шт.

BN98806

JAM NUT

(Tie Rod End)

4шт.

Tie rod end clamps must be installed as shown with bolts to bottom and nuts to rear of Patriot. After adjusting toe in, both tie rod ends on each cylinder must be in alignment to avoid binding.

1шт.

BN04851

CLAMP

Tie Rod End, With Bolt

4шт.

Tie rod end clamps must be installed as shown with bolts to bottom and nuts to rear of Patriot. After adjusting toe in, both tie rod ends on each cylinder must be in alignment to avoid binding.

1шт.

21

NSS

NOT SOLD SEPARAT

7 Bank

1шт.

See Fig. 05-012 for Seals & Repair Parts

1шт.

BN25229

SHIELD

7 & 8 Bank Valve - Cover

1шт.

BN25230

MOUNTING PLATE

7 & 8 Bank Valve Cover

1шт.

24

BN29233

HYDRAULIC STEERING

Control, Orbitrol

1шт.

BN98233

SEAL KIT

for 29233

1шт.

65

BN21355

ADAPTER,1/4"-18 NPT x 7/16-20 JIC

6шт.

67

BN21401

ELBOW,90 Degree 3/8" NPT x 7/16"-20 JIC

4шт.

68

BN51352

BUSHING

1/4-18 x 3/8-18 NPT

2шт.

69

BN53711

TEE

1/4 NPT x 7/16-20 JIC

1шт.

70

BN53712

TEE

1/4" NPT

1шт.

71

BN21422

TEE

7/16-20 JIC

4шт.

73

BN22160

ELBOW

90° 9/16-18 O-Ring X 7/16-20 JIC

14шт.

BN98019

O-RING

#6

14шт.

79

BN21249

ADAPTER,3/4" - 16 ORFS x 7/16" - 20 JIC

2шт.

BN98018

O-RING

#8

2шт.

105

BN54161

HOSE,0.25" ID x 52.00", SAE 100R1

2шт.

113

BN53814

HOSE

1/4" x 62"

2шт.

114

BN54155

HOSE,0.25" ID x 33.00", SAE 100R1

1шт.

115

BN54156

HOSE,0.25" ID x 30.00", SAE 100R1

1шт.

116

BN54157

1/4" x 15"

2шт.

117

BN54158

HOSE,0.25" ID x 114.00", SAE 100R1

2шт.

118

BN54169

HOSE

1/4" x 44"

1шт.

119

BN53964

HOSE

1/4" ID x 15" 100R1

1шт.

123

BN54196

HOSE

1/4" x 18"

2шт.

Выбрано товаров: 47