Запчасти Case IH TYLER (02-001) - ENGINE MOUNTS (01) - ENGINE

Схема запчастей Case IH TYLER - (02-001) - ENGINE MOUNTS (01) - ENGINE
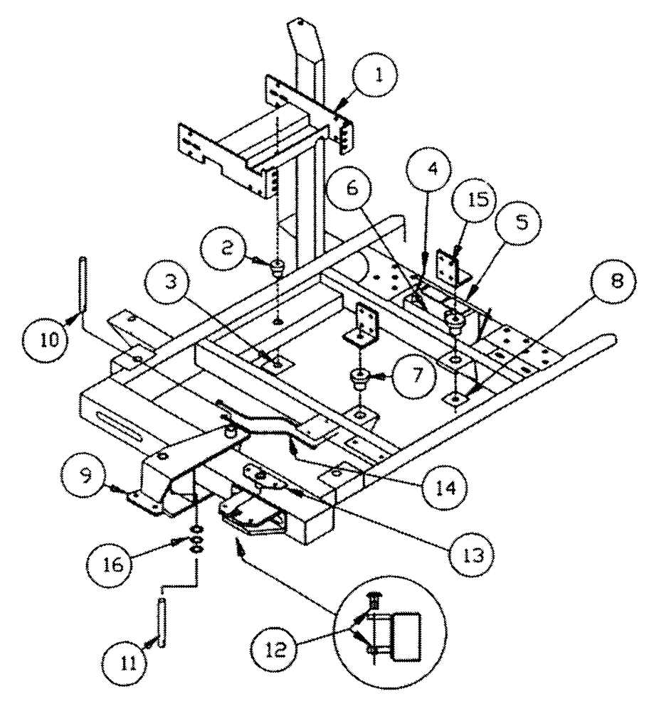
12
13
6
11
9
15
3
1
10
7
4
5
8
14
16
2
FIT
1:1
100%

Артикул

Название

Примечание

Количество

1

BN29501

MOUNTING PARTS

Motor & Radiator

1шт.

2

BN29243

ISOLATOR

Rubber 1/2" Bore

1шт.

3

BN316870

WASHER

2.25 x 0.52 x 7 GA, 304 SS

1шт.

4

BN7020

ROD

5/16 dia. x 11.5

2шт.

5

BN29276

ANGLE

Battery Hold Down

1шт.

6

BN57227

1шт.

6

BN29435

CABLE

Battery - Positive

1шт.

6

BN67535

Battery - Negative

1шт.

7

BN29242

ISOLATOR

Rubber 3/4" Bore

2шт.

8

BN63818

WASHER,20.57mm ID x 69.85mm OD x 4.76mm Thk

7 GA 304 .81 x 2.75

2шт.

9

BN63772

ARM

Steering

1шт.

10

BN25516

PIN

pivot - 1.03" x 12.5"

1шт.

11

BN63780

PIN

1.03 dia. CRS x 10

1шт.

Steering Hyd. Cyl.

1шт.

12

BN63711

FLANGED BEARING,25.4mm ID x 28.57mm OD x 31.75mm L

2шт.

13

BN63790

BUSHING

1шт.

14

BN29427

Ground (Frame to Cab & Engine)

2шт.

15

BN29207

Mount - Motor

2шт.

16

BN65463

WASHER

Machine Bushing - 18 GA

1шт.

16

BN65464

WASHER

Mach 14 ga.

1шт.

16

BN65465

WASHER

Machine Bushing - 10 GA

1шт.

Выбрано товаров: 21