Качественные детали и логистика
Оригинальные и аналоговые запчасти с доставкой по России, Казахстану и Беларуси
©2022 PartSell ООО "Система" ИНН 2463123282 ОГРН 1212400004838
Центральный офис: г. Красноярск, Академика Киренского, д.87, пом.4
Телефон: 8 (800) 777-65-74 Email: zakaz@partsell.ru
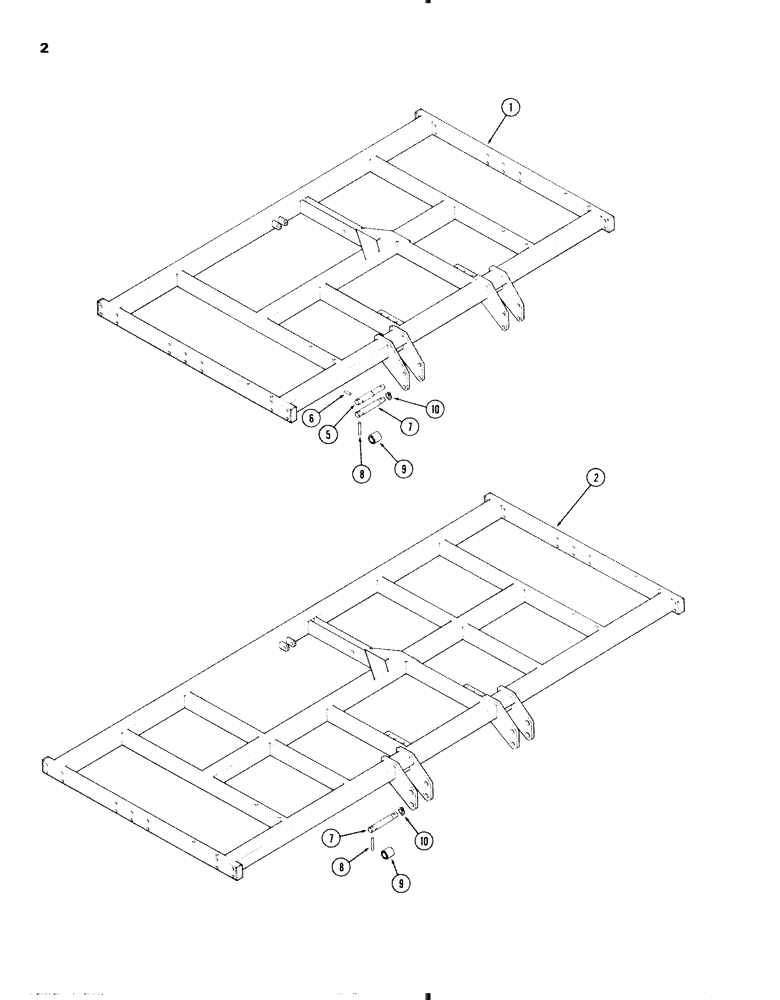
(02) - MAIN FRAME
№
Артикул
Название
Примечание
Количество
1
T54695
FRAME - 10 foot
1шт.
2
T54697
FRAME - 14 foot
5
T56330
PIN
- lower 1-7/16 x 10-3/8" Category II
2шт.
6
138-180
LOCK PIN,3/8" x 2 1/2", Slotted
PIN, 3/8" x 2 1/2", Slotted
7
T55402
- lower 1-7/16 x 10-3/8" Category III
8
138-186
LOCK PIN,3/8" x 4", Slotted
Pin, 3/8" x 4", Slotted
9
T54723
BUSHING
- 3 point hitch
10
A33509
PIN,11.18mm OD
- lock
Выбрано товаров: 0