Запчасти Case IH 1900 (42) - T57137 C.T.D. CONTROL VALVE

Схема запчастей Case IH 1900 - (42) - T57137 C.T.D. CONTROL VALVE
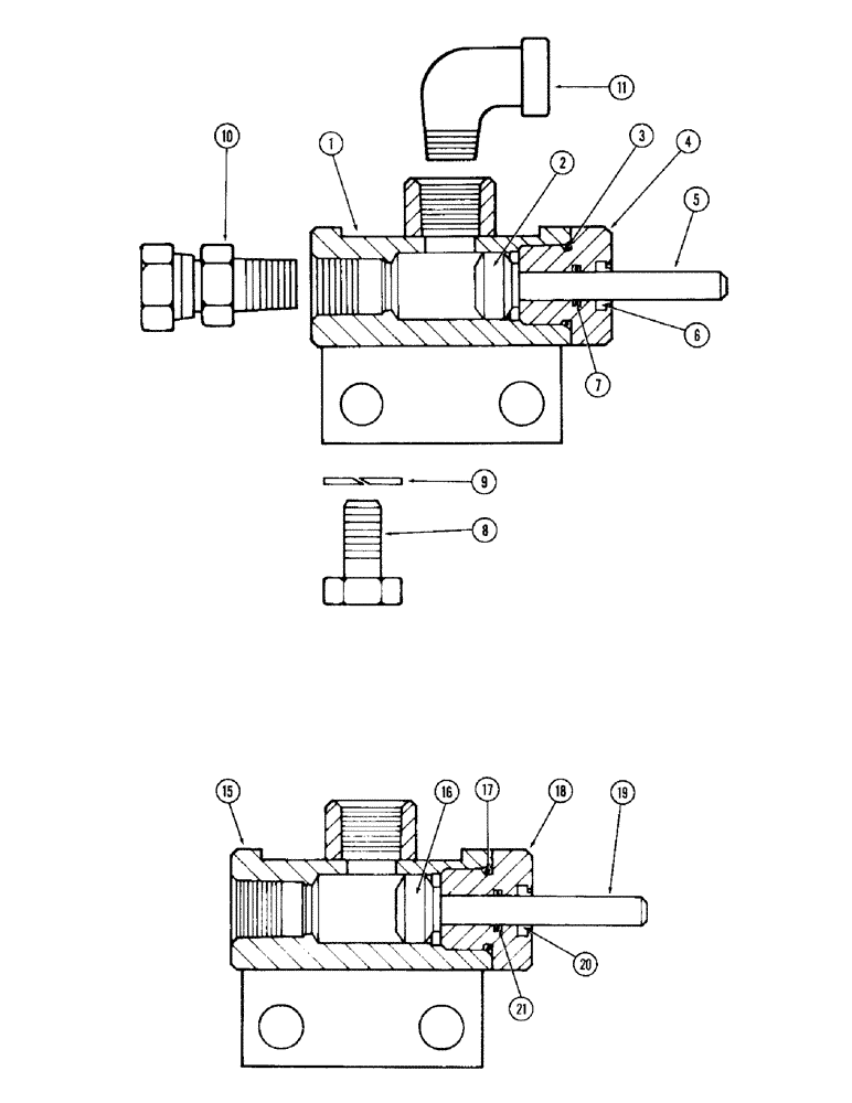
21
17
4
6
15
2
1
18
16
8
3
7
19
10
9
20
11
5
FIT
1:1
100%

Артикул

Название

Примечание

Количество

T57137

VALVE - control complete

1шт.

1

NSS

NOT SOLD SEPARAT

HOUSING

1шт.

2

NSS

NOT SOLD SEPARAT

PISTON

1шт.

3

T57221

SEAL - head

1шт.

4

T57217

HEAD - valve

1шт.

5

NSS

NOT SOLD SEPARAT

ROD - piston

1шт.

6

T57220

SEAL - piston rod

1шт.

7

T57219

SEAL - backup

1шт.

8

113-424

BOLT,Hex, 1/2" - 13 x 1", Gr 5, Full Thd

2шт.

9

192-23

LOCK WASHER,1/2"

WASHER, LOCK, 1/2"

2шт.

10

218-1442

ADAPTER - swivel 1/2" (12.7 mm)

1шт.

11

221-1414

ELBOW,90 Degree, 1/2"-14, NPT

- pipe 1/2" (12.7 mm)

1шт.

NSS

NOT SOLD SEPARAT

VALVE - control complete, ram

1шт.

15

NSS

NOT SOLD SEPARAT

HOUSING, ram control valve

1шт.

16

T57165

VALVE POPPET

PISTON, ram control valve

1шт.

17

NSS

NOT SOLD SEPARAT

SEAL - head, ram control valve

1шт.

Part of Seal Kit, P/N T63305

1шт.

18

T57166

HEAD

- valve, ram control

1шт.

19

T57164

STEM

ROD - piston, ram control valve

1шт.

20

NSS

NOT SOLD SEPARAT

SEAL - piston rod, ram control valve

1шт.

Part of Seal Kit, P/N T63305

1шт.

21

NSS

NOT SOLD SEPARAT

SEAL - backup, ram control valve

1шт.

Part of Seal Kit, P/N T63305

1шт.

T63305

KIT

- seal, Includes: ref. nos. 17, 20, 21, ram control valve

1шт.

Выбрано товаров: 24