Запчасти Case IH 2500 ECOLO-TIL (39.110.02) - AUTO RESET REAR HITCH (39) - FRAMES AND BALLASTING

Схема запчастей Case IH 2500 ECOLO-TIL - (39.110.02) - AUTO RESET REAR HITCH (39) - FRAMES AND BALLASTING
34
20
26
2
38
35
31
12
33
28
25
5
24
23
33
7
8
23
29
11
6
10
9
27
1
32
4
30
36
36
30
22
21
3
FIT
1:1
100%

Артикул

Название

Примечание

Количество

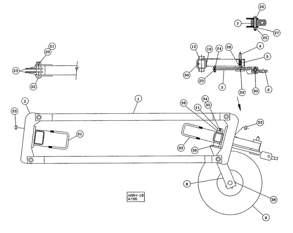
1

09662200

BRACKET

Link Weldment

2шт.

2

09662250

BRACKET

Upright Weldment

2шт.

3

04667200

BAR ASSY.

Tow

1шт.

4

14816450

SPECIAL PIN

1, OD

1шт.

5

24111200

SPRING

Compression

1шт.

6

20092085

CLEVIS

Single

1шт.

7

44009370

SPACER

15/16, ID

1шт.

8

09662350

BRACKET

Caster Wheel

1шт.

9

10005146

LAND WHEEL

7.50 x 14

1шт.

10

18534244

REFLECTOR

Red

2шт.

11

09983147

TUBE,1.65" ID, 2.5" OD, 1.12" Length

Tube With Hole

1шт.

20

413-840

BOLT,Hex, 1/2" - 13 x 2-1/2", Gr 5

4шт.

21

425-108

NUT,1/2" - 13, Gr 5

4шт.

22

14892050

SPECIAL PIN

1-1/4 x 7

4шт.

23

425-1010

NUT,5/8"-11, G5

1шт.

23

17620020

BUSHING,32.15mm ID x 47.63mm OD x 2.08mm L

1-1/4, Machine, 14 ga

8шт.

24

413-1028

BOLT,Hex, 5/8" - 11 x 1-3/4", Gr 5

1шт.

25

87681198

NUT,Hex, 7/8"-9, 0.45 high

7/8, Hex, Stover

1шт.

26

16901420

SPECIAL BOLT

7/8 x 5-1/2, NC, A325

1шт.

27

17414012

WASHER,23.83mm ID x 44.45mm OD x 6.45mm Thk

7/8, ID

1шт.

28

17616020

WASHER

1, Machine, 14 ga

1шт.

29

438-11624

ROLL PIN,6.35mm OD x 38.1mm L

1шт.

30

219-86

LUBE NIPPLE,1/8" NPTF

2шт.

31

87427186

U-BOLT

BOLT "U" 3/4 x 6.18, A And B Frame

4шт.

31

87427188

U-BOLT

BOLT "U" 3/4 x 6 x 7-1/2, C And D Frame

4шт.

32

87427185

U-BOLT

3/4 x 4 x 5-1/2

4шт.

33

425-1012

NUT,3/4"-10, G5

16шт.

34

87333862

NUT

1шт.

35

413-852

BOLT,Hex, 1/2" - 13 x 3-1/4", Gr 5

1шт.

36

17627010

WASHER,41.67mm ID x 60.33mm OD x 2.08mm Thk

1-5/8, Machine

5шт.

38

549962R1

BOLT,1 1/2" - 20 x 1 1/2", Class 3

1/2 x 1, NF, Wheel

4шт.

Выбрано товаров: 0