Запчасти Case IH 2500 ECOLO-TIL (75.200.14) - SINGLE CONTINENTAL ASSEMBLY (75) - SOIL PREPARATION

Схема запчастей Case IH 2500 ECOLO-TIL - (75.200.14) - SINGLE CONTINENTAL ASSEMBLY (75) - SOIL PREPARATION
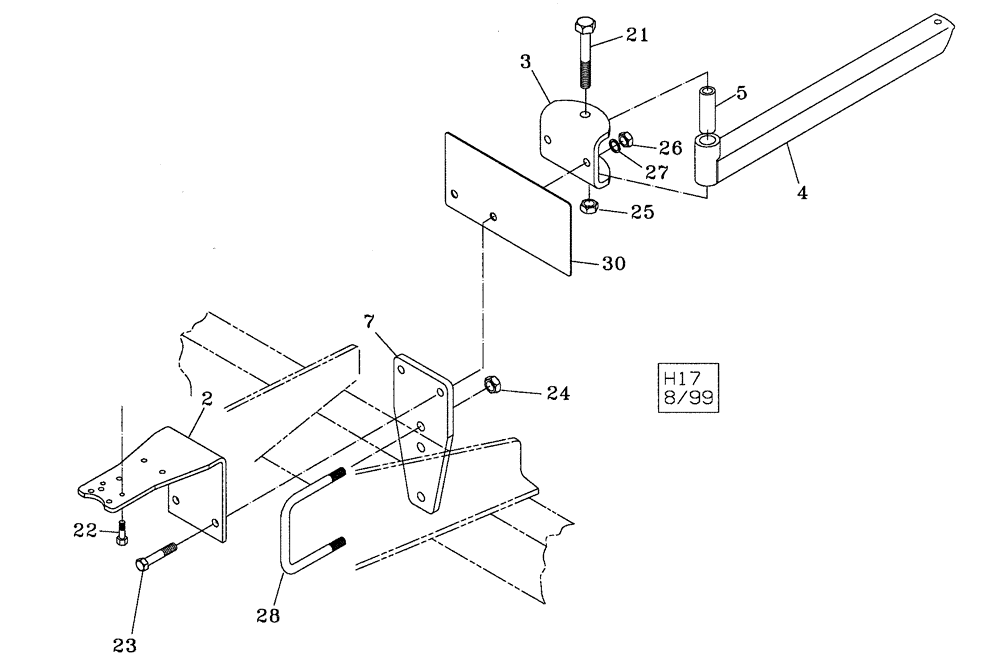
24
7
3
22
4
22
28
28
13
21
27
5
26
23
12
23
25
30
FIT
1:1
100%

Артикул

Название

Примечание

Количество

1

34104100

ROTARY DIVIDER

C4100 Continental Regulator With 13 Outlet Manifold With Hydraulic Shut Off

1шт.

2

04660310

STAND

Regulator

1шт.

3

04660320

BAR ASSY.

1шт.

4

04660330

CHANNEL

Extension Pivot

1шт.

5

04660340

TUBE,0.81" ID, 1.25" OD

Pivot

1шт.

7

02391118

PLATE

Regulator Stand

1шт.

8

15060120

ADAPTER

1/8 NPT x 1/4, 90 Degree Elbow

1шт.

9

15071251

ADAPTER

1-1/4, NPT

1шт.

10

15031259

ADAPTER

1-1/4 x 1, NPT, Reducer

1шт.

11

25675320

HOSE,1.25" ID x 32.00"

1шт.

12

02600050

FITTING

1-1/4, Quick Coupler

1шт.

13

34314100

FITTING

1-3/4 ACME x 1-1/4 NPTM

1шт.

14

15040121

ADAPTER

1/8 NPT x 3/8, Barb

9шт.

15

15020120

FITTING

1/8, Pipe

8шт.

16

34599060

GAUGE

Dial, 60 PSI

1шт.

17

15010121

ADAPTER

1/8 NPT x 1-1/2

1шт.

18

25600472

HYDRAULIC HOSE,0.25" ID x 72.00"

2шт.

19

217-1109

REDUCER,1/2"-14 Male NPTF x 1/4"-18 Female NPTF

2шт.

20

25630606

HOSE,0.38" ID x 100.00'

1шт.

21

413-1296

BOLT,Hex, 3/4" - 10 x 6", Gr 5

1шт.

22

413-512

BOLT,Hex, 5/16" - 18 x 3/4", Gr 5

2шт.

23

413-1040

BOLT,Hex, 5/8" - 11 x 2-1/2", Gr 5

2шт.

24

425-1012

NUT,3/4"-10, G5

2шт.

25

280375

NUT,3/4"-10, GC

1шт.

26

425-1010

NUT,5/8"-11, G5

2шт.

27

492-11062

BEARING WASHER,5/8"

2шт.

28

87427188

U-BOLT

BOLT "U" 3/4 x 6 x 7-1/2, C And D Frame

1шт.

28

87427185

U-BOLT

3/4 x 4 x 5-1/2, Used With Auto Reset Hitch

1шт.

29

214-1406

HOSE CLAMP,#06, 0.44" - 0.78", Type F Worm

1шт.

30

04681850

SUPPORT

Bracket, Sign Combo

1шт.

30

18534368

DECAL

Ammonia Danger

1шт.

Выбрано товаров: 0