Запчасти Case IH 2500 ECOLO-TIL (75.200.15) - 1-1/4 QUIC COUPLER (75) - SOIL PREPARATION

Схема запчастей Case IH 2500 ECOLO-TIL - (75.200.15) - 1-1/4 QUIC COUPLER (75) - SOIL PREPARATION
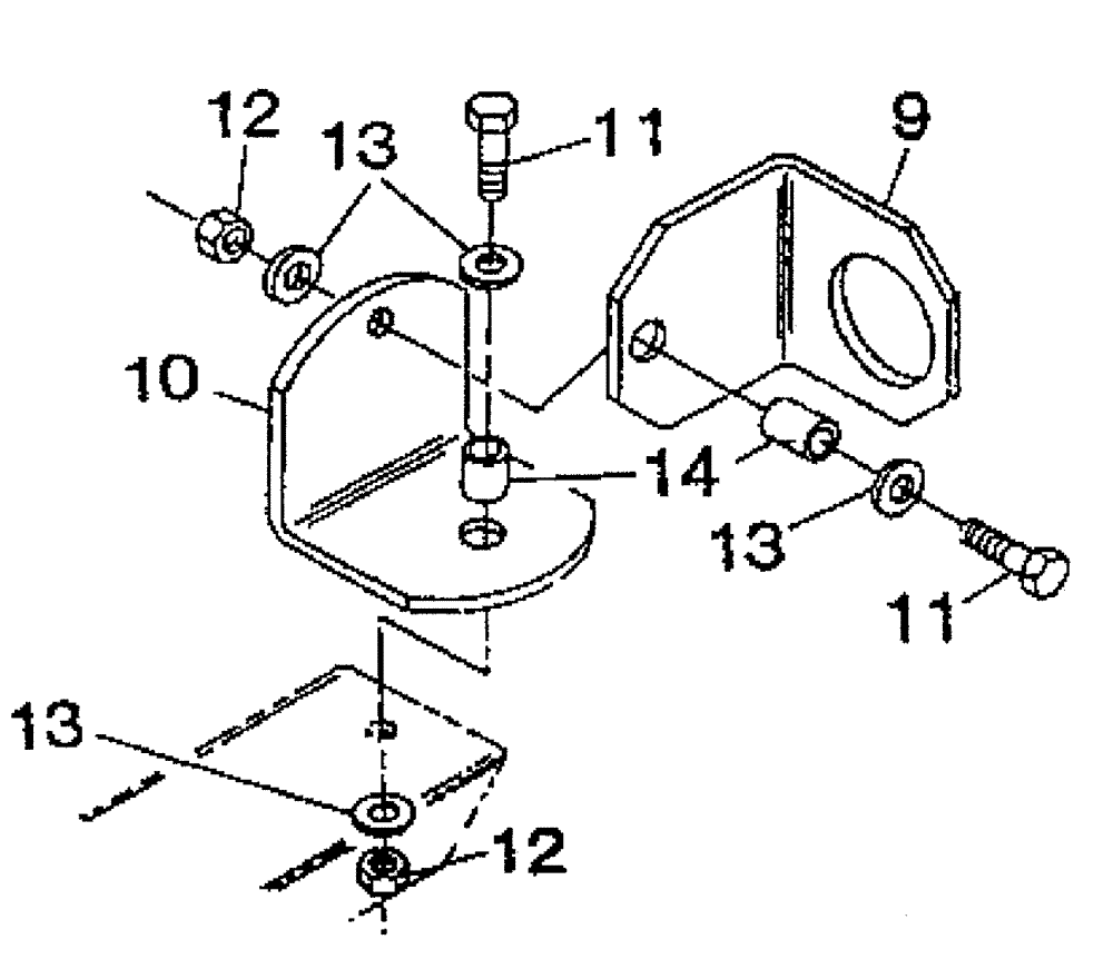
12
10
11
11
9
13
13
12
14
13
FIT
1:1
100%

Артикул

Название

Примечание

Количество

2

02600040

FITTING

1-1/4, Quic Coupler Assembly With Bracket, Inc. 4 - 6 And 9 - 14

1шт.

4

34410032

QUICK MALE COUPLING

1-1/4

1шт.

5

34410033

QUICK MALE COUPLING

1-14, Female

1шт.

6

103-11250

SNAP RING,#250, Ext

1шт.

7

34410034

O-RING KIT

Gasket Kit, Consists of 2 O-Rings

1шт.

9

02628012

STAND

Upper Swivel Bracket, Inc. 11 - 14

1шт.

10

02138100

BAR ASSY.

Lower Swivel Bracket With Bushing

1шт.

11

413-824

BOLT,Hex, 1/2" - 13 x 1-1/2", Gr 5

2шт.

12

87333862

NUT

2шт.

13

495-21056

WASHER,1/2"

Standard

4шт.

14

02138110

SPACER

Pipe

2шт.

15

18534368

DECAL

Ammonia Danger

1шт.

Выбрано товаров: 12