Запчасти Case IH 2500 ECOLO-TIL (75.200.14) - SINGLE CONTINENTAL ASSEMBLY (75) - SOIL PREPARATION

Схема запчастей Case IH 2500 ECOLO-TIL - (75.200.14) - SINGLE CONTINENTAL ASSEMBLY (75) - SOIL PREPARATION
26
25
12
28
24
7
22
23
22
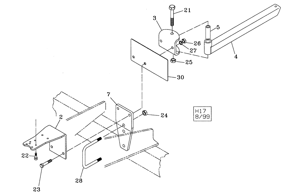
3
27
5
21
30
23
13
4
FIT
1:1
100%

Артикул

Название

Примечание

Количество

1

34104100

ROTARY DIVIDER

C4100 Continental Regulator with 13 Outlet Manifold with Hydraulic Shut Off (Not Shown)

1шт.

2

04660310

STAND

Regulator (Not Shown)

1шт.

3

04660320

BAR ASSY.

Bracket

1шт.

4

04660330

CHANNEL

Extension Pivot Mount

1шт.

5

04660340

TUBE,0.81" ID, 1.25" OD

Pivot Tube

1шт.

7

02391118

PLATE

Regulator Stand Bracket

1шт.

8

15060120

ADAPTER

1/8" NPT x 1/4" 90 Degree Elbow (Not Shown)

1шт.

9

15071251

ADAPTER

1-1/4" NPT (Not Shown)

1шт.

10

15031259

ADAPTER

1-1/4" x 1" NPT Reducer (Not Shown)

1шт.

11

25675320

HOSE,1.25" ID x 32.00"

1шт.

12

02600050

FITTING

1-1/4" Quick Coupler (Not Shown)

1шт.

13

34314100

FITTING

1-3/4" ACME x 1-1/4" NPTM (Not Shown)

1шт.

14

15040121

ADAPTER

1/8" NPT x 3/8" Barb (Not Shown)

9шт.

15

15020120

FITTING

1/8" Pipe (Not Shown)

8шт.

16

34599060

GAUGE

Dial, 60 PSI (Not Shown)

1шт.

17

15010121

ADAPTER

1/8" NPT x 1-1/2" (Not Shown)

1шт.

18

25600472

HYDRAULIC HOSE,0.25" ID x 72.00"

Not Shown

2шт.

19

217-1109

REDUCER,1/2"-14 Male NPTF x 1/4"-18 Female NPTF

Not Shown

2шт.

20

25630606

HOSE,0.38" ID x 100.00'

Not Shown

1шт.

21

413-1296

BOLT,Hex, 3/4" - 10 x 6", Gr 5

NC

1шт.

22

413-512

BOLT,Hex, 5/16" - 18 x 3/4", Gr 5

NC

2шт.

23

413-1040

BOLT,Hex, 5/8" - 11 x 2-1/2", Gr 5

NC

2шт.

24

425-1012

NUT,3/4"-10, G5

NC Hex.

2шт.

25

280375

NUT,3/4"-10, GC

NC Hex. Stover

1шт.

26

425-1010

NUT,5/8"-11, G5

NC Hex.

2шт.

27

492-11062

BEARING WASHER,5/8"

2шт.

28

87427188

U-BOLT

BOLT "U" 3/4" x 6" x 7-1/2" C And D Frame

1шт.

28

87427185

U-BOLT

3/4" x 4" x 5-1/2", Used with Auto Reset Hitch

1шт.

29

214-1406

HOSE CLAMP,#06, 0.44" - 0.78", Type F Worm

Not Shown

1шт.

30

04681850

SUPPORT

Bracket, Sign Combo

1шт.

30

18534368

DECAL

Ammonia Danger

1шт.

Выбрано товаров: 31