Запчасти Case IH 2500 ECOLO-TIL (39.110.04) - JACK ASSEMBLY (39) - FRAMES AND BALLASTING

Схема запчастей Case IH 2500 ECOLO-TIL - (39.110.04) - JACK ASSEMBLY (39) - FRAMES AND BALLASTING
7
5
3
4
2
1
FIT
1:1
100%

Артикул

Название

Примечание

Количество

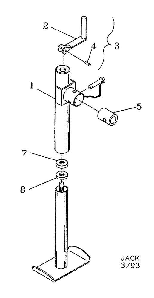
1

32230000

JACK

5000 lb

1шт.

2

NSS

NOT SOLD SEPARAT

Jack Handle

1шт.

3

32230100

PACKAGE

Handle Replacement, Includes Ref. 2, 4, & 9

1шт.

4

NSS

NOT SOLD SEPARAT

1/4" x 1" NC Std. Hex. Bolt

1шт.

5

09311040

TUBE,1.3" ID, 2" OD, 2.62" Length

Mounting Bracket

1шт.

7

NSS

NOT SOLD SEPARAT

Thrust Bearing

1шт.

8

NSS

NOT SOLD SEPARAT

Thrust Washer

1шт.

9

NSS

NOT SOLD SEPARAT

1/4" Lock Nut (Not Shown)

1шт.

Выбрано товаров: 8