Запчасти Case IH 527 (75.200.05) - DISC MOUNT (75) - SOIL PREPARATION

Схема запчастей Case IH 527 - (75.200.05) - DISC MOUNT (75) - SOIL PREPARATION
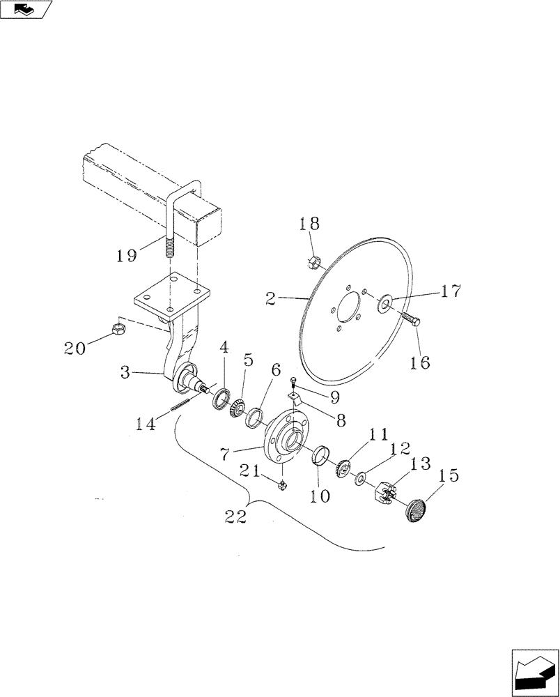
8
9
19
2
15
22
3
5
6
17
12
7
10
18
13
11
4
20
14
16
21
FIT
1:1
100%

Артикул

Название

Примечание

Количество

1

09970700

CENTRALIZER

Disc Mount

1шт.

1

09970800

MOUNTING PARTS

Disc - RH

1шт.

1

09970900

MOUNTING PARTS

Disc - LH

1шт.

2

33552050

PLOW DISC

20" Blade

1шт.

3

09970701

FURROW WHEEL

Spindle Arm Weld - Center

1шт.

3

09970801

FURROW WHEEL

Spindle Arm Weld - RH

1шт.

3

09970901

FURROW WHEEL

Spindle Arm Weld - LH

1шт.

4

21931875

OIL SEAL

3.00" O.D. Carbox #115

1шт.

5

21871630

ROLLER BEARING,41.288 mm ID x 19.76 mm

1.62" Timken #LM501349

1шт.

6

21882890

BEARING, CUP,41.288 mm ID x 73.456 mm OD x 19.76 mm

2.89" OD Timken #LM501310

1шт.

7

28705000

DISC

Hub W/Cups

1шт.

8

09970770

RETAINER

Dust Cap

1шт.

9

16004025

BOLT

1/4" x 1/2" NC Hex. Gd. 5

1шт.

10

21882330

BEARING, CUP,31.77 mm ID x 59.15 mm OD x 16.08 mm

2.33" O.D. Timken #LM67010

1шт.

11

21871250

ROLLER BEARING,31.77 mm ID x 16.76 mm

1 .25" Timken # LM67048

1шт.

12

17414012

WASHER,23.83mm ID x 44.45mm OD x 6.45mm Thk

7/8" Heavy

1шт.

13

14051403

NUT

7/8" NF Slotted Hex.

1шт.

14

NSS

NOT SOLD SEPARAT

5/32" x 2" Cotter Pin

1шт.

15

28490001

HUB CAP

Dust

1шт.

16

16008075

BOLT

1/2" x 1-3/4" NC Hex. Gd. 5

5шт.

17

17409010

WASHER,14.22mm ID x 35.05mm OD x 4.75mm Thk

9/16" x 1-3/8" x .179"

5шт.

18

NSS

NOT SOLD SEPARAT

1/2" NC Hex. Nut

5шт.

19

16312230

U-BOLT

BOLT "U" 3/4" x 4" Square Gd. 7

2шт.

20

14001205

NUT

3/4" NC Hex.Gd. 5

4шт.

21

NSS

NOT SOLD SEPARAT

1/8" NPT Grease Zerk

1шт.

22

28199901

KIT

Hub Assembly Complete, Includes Ref. 4-15

1шт.

Выбрано товаров: 26